Front Drive Wheel Offset
CAUTION: Avoid serious injury or death resulting from final
drive failure and loss of drive wheel during transport or field operation.
Do not exceed maximum wheel offset.
IMPORTANT: Use only John Deere
supplied wheels, tires and spacers. Use of non-John Deere components
not meeting specification will void the warranty. Do not
use clamp-on style duals. They do not meet John Deere specification.
Do not operate with rear wheels offset out unless your machine
is equipped with 28L-26 rear wheel option for non-powered rear axles.
28L-26 wheel option must be offset out due to clearance issues.

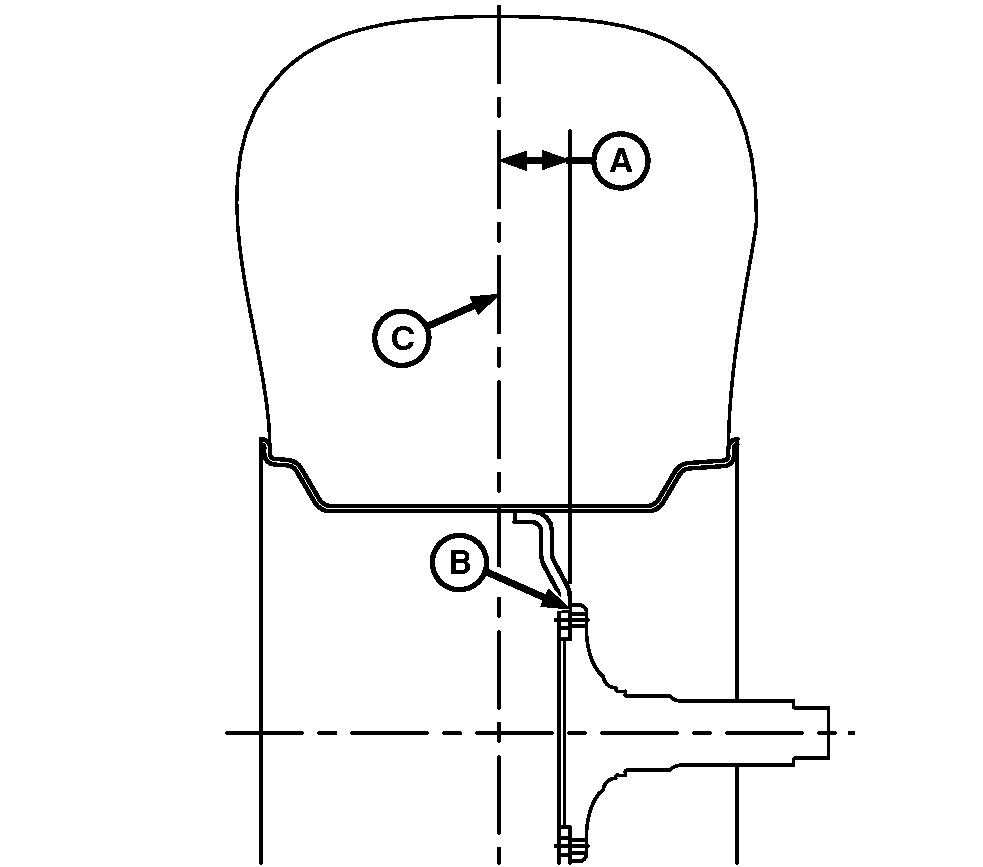
H65047-UN-30OCT00
Single Wheel

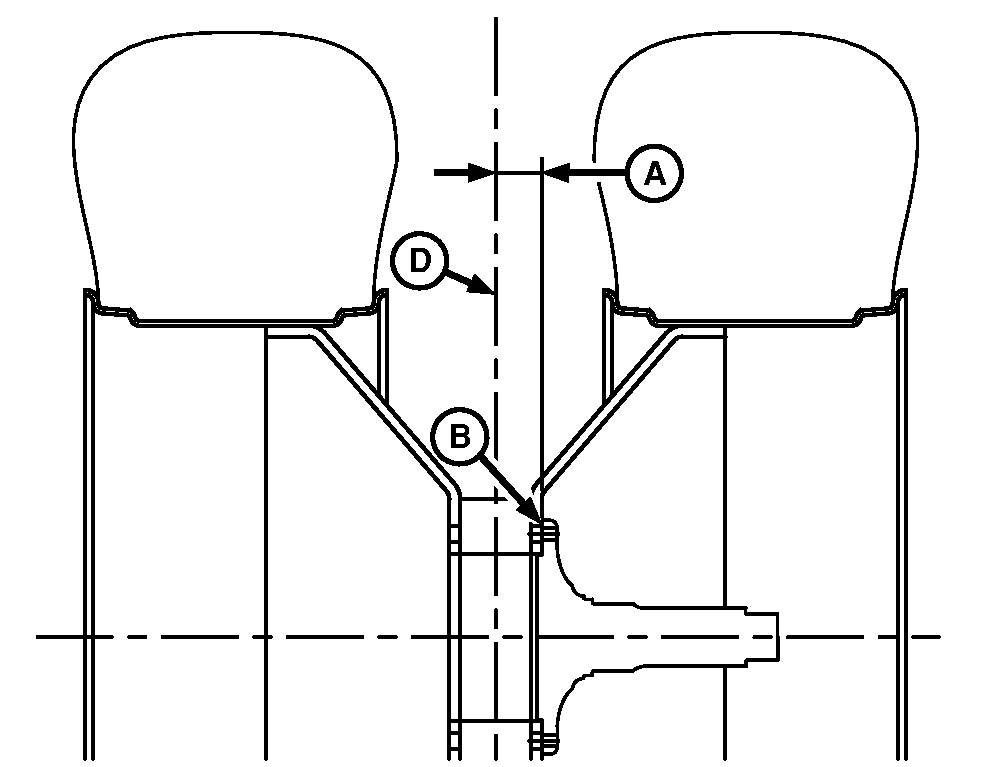
H65048-UN-30OCT00
Dual Wheels
A - Dimension
B - Spindle Surface
C - Tire Centerline
D - Centerline of Duals
Wheel offset distance severely affects life of final drive
parts. When installing drive wheels, ensure that offset dimension
(A) measured from spindle surface (B) to centerline (C or D) is within
specification.
| Item | Measurement | Specification |
| Maximum Wheel Offset |
|
Single Wheel | Distance | 114.3 mm (4-1/2 in.) |
|
Dual Wheels | Distance | 50.8 mm (2 in.) |
|
|
OUO6075,0000829-19-20070315
|
|