Drive Wheel Bolt Torque (Single Wheel Configuration)

H96868-UN-11JUN10

H96863-UN-10JUN10
Torque Sequence
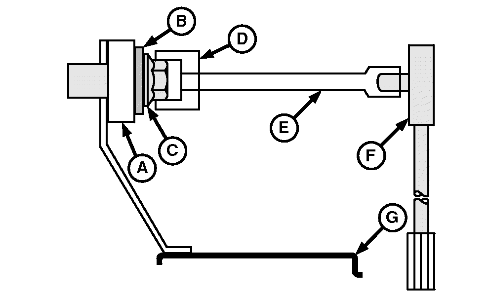
A - Spacer
B - Washer
C - Wheel Bolt
D - 32 mm Socket
E - Extension
F - Torque Wrench
G - Wheel
Each time drive wheels are repositioned or replaced, torque
wheel bolts to specification and in a criss/cross pattern. After one
hour of operation, torque wheel bolts again to specification and every
100 hours thereafter.
| Item | Measurement | Specification |
|
Wheel Bolts | Torque (Lubricated) | 710 N·m (524 lb.-ft.) |
|
|
OUO6075,0001081-19-20120228
|
|