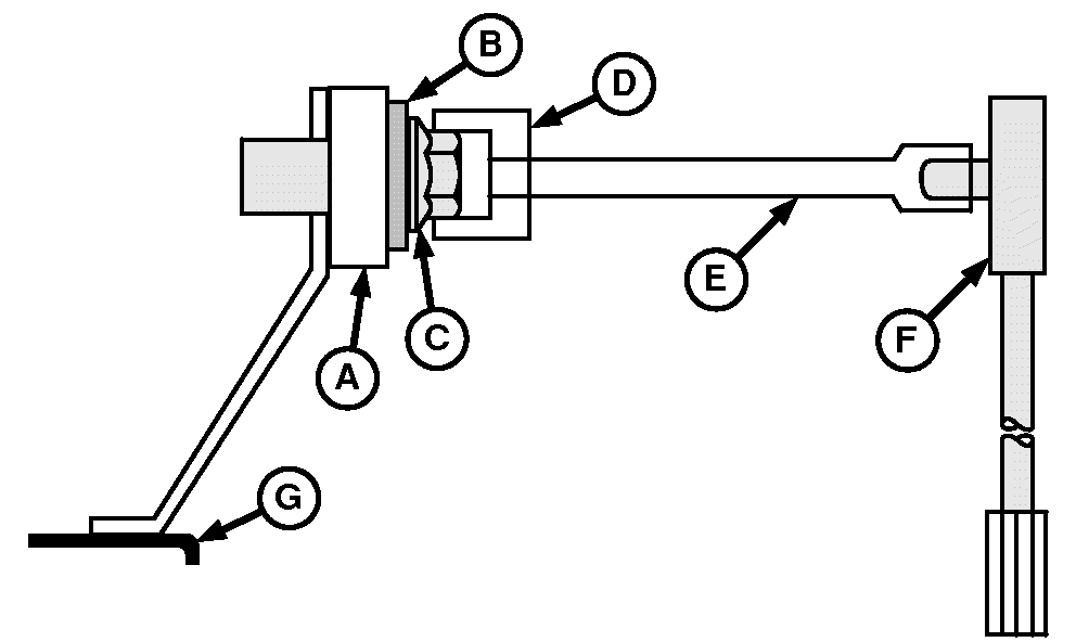
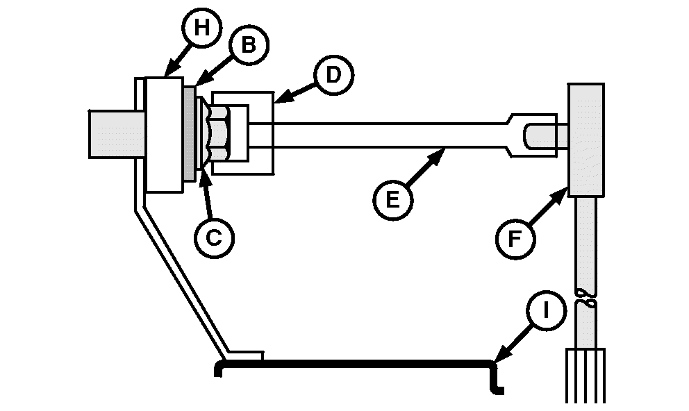
Drive Wheel Bolt Torque (Dual Wheel Configuration)

H96841-UN-11JUN10
Inner Dual Wheel

H96842-UN-11JUN10
Outer Dual Wheel

H96863-UN-10JUN10
Torque Sequence
A - Dual Wheel Spacer
B - Washer
C - Wheel Bolt
D - 32 mm Socket
E - Extension
F - Torque Wrench
G - Inner Dual Wheel
H - Spacer
I - Outer Dual Wheel
Each time inner or outer dual wheels are repositioned or
replaced, torque wheel bolts to specification and in a criss/cross
pattern. After one hour of operation, torque wheel bolts again to
specification and every 100 hours thereafter.
| Item | Measurement | Specification |
|
Wheel Bolts | Torque (Lubricated) | 710 N·m (524 lb.-ft.) |
|
|
OUO6075,0001082-19-20120228
|
|