Unplugging Cylinder With Breaker Bar (Optional)
CAUTION: Shut off engine, set parking brake and remove key.
After clearing cylinder, remove breaker bar before restarting engine.

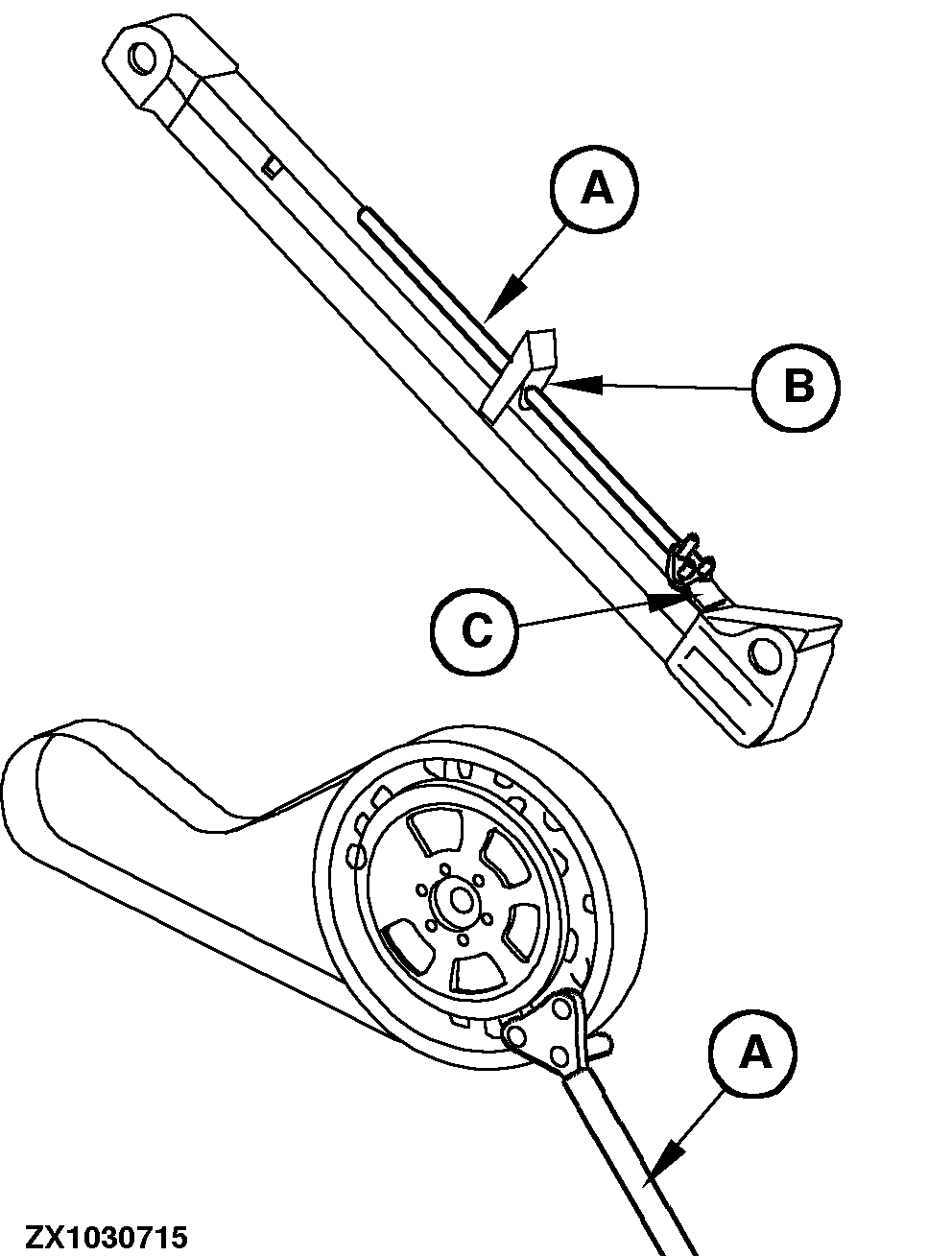
ZX1030715-UN-27OCT02
A - Breaker bar
B - Guide
C - Strap
Open the concave fully. Remove the shield covering the cylinder
drive.
Insert breaker bar (A) as shown and rock the cylinder back and
forth until it is clear.
Slide shield back into position and secure with cap screw.
Put the concave back in its original position.
When breaker bar (A) is not used, store it on tailings elevator
housing between guide (B) and strap (C),
|
|
OUZXMAG,0001896-19-20040331
|
|