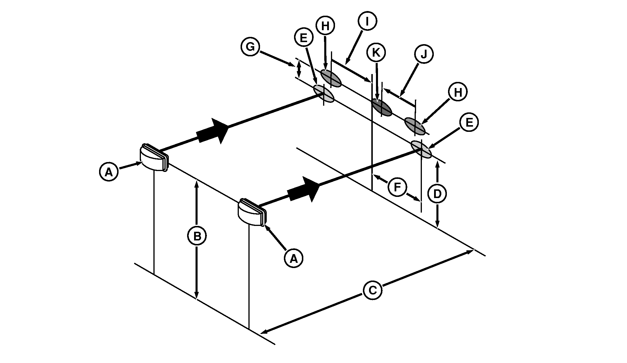
Aim Head Lights

RXA0107269-UN-03JUN10
A - Low Beam Road Lights
B - Distance, Center of Low Beam Road Lights To Ground
C - Distance, 7.5 meters (25 ft)
D - Horizontal Line on Wall
E - Center of Low Beam Road Light
F - Distance, 914 mm (36 in.)
G - Distance, 355 mm (14 in.) (Center of Low Beam Road
Light Beam To Center of High Beam).
H - Road Lights High Beam Center
I - Distance, 787 mm (31 in.) (Road Light High Beam
Center To Tractor Center Line
J - Distance, 635 mm (25 in.) (Road Light High Beam
Center To Front Inner Flood Beam Center)
K - Front Inner Hood Beam Center
-
Park sprayer on a level surface with low beam road lights (A)
7.5 meters (25 ft) (C) from a vertical wall. Turn on low beam road
lights.
-
Measure the distance (B) from center of low beam road lights
to the ground.
-
Mark a horizontal line on the wall at the same height as center
of low beam road lights.
-
On the wall, mark each low beam road light beam center, then
determine vertical center line between low beam road light's beam.
-
On the wall, mark vertical center line.
-
Distance between low beam road light's beam center and center
line should be 914 mm (36 in.) ((F)).
-
Turn on high beam road lights.
-
Adjust high beam road lights so edge of bright area (H) is at least one tenth of distance (B) above center of low beam road lights spot (E).
-
On the wall, mark each high beam road light beam center (H),
then determine vertical center line between high beam road light's
beam.
-
Distance between high beam road light's beam center and center
line should be 787 mm (31 in.) ((I)).
-
Make sure front inner hood lights are programmed on, then turn
on field lights.
-
Distance between high beam road light's beam center (K) and
inner hood light center line should be 635 mm (25 in.) ((J)).
|
|
CS12167,00001EA-19-20130104
|
|