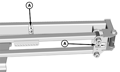
Load Command Nurse Arm Decals

N88664-UN-27MAY10

SSN401321-UN-26MAY10
Decal A

SSA83602-UN-06OCT06
Decal B

N88462-UN-27MAY10
Decal C
Decal A—
Warning: Always latch nurse arm, install
safety pin and attach secondary chain before transport.
Decal B— This operator's manual contains important information
necessary for safe machine operation. Carefully observe all safety
rules to avoid accidents.
CAUTION: Close tank valve on nurse vehicle before transport.
Decal C—
IMPORTANT: Read operator's manual before operating equipment.

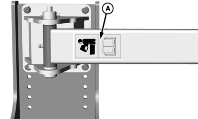
N88665-UN-27MAY10

SSN401323-UN-26MAY10
Decal A
Decal A—Warning To avoid
injury, keep hands and fingers away from this area.

N88663-UN-27MAY10

SSN313593-UN-13FEB08
Decal A
Decal A—
CAUTION: Agricultural chemicals can be dangerous. Improper selection
or use can injure persons, animals, plants, soils or other property. To avoid injury:
-
Select the right chemical for the job.
-
Handle and apply it with care. Follow instructions issued by
the chemical manufacturer.
|
|
CS12167,0000545-19-20140131
|
|