-
CAUTION: Spray system can contain hazardous material which can
cause serious injury or death to you or others. Wear protective clothing,
eyewear, and gloves. Use rinse system in an area where people, animals,
vegetation and water supply etc. cannot be contaminated.
NOTE: After solution tank has been drained, complete the following
steps when using rinse system to clean solution tank and boom assembly.
Approximate time required for rinsing each component is as shown
in the following table:
| |
Time (sec.)
|
|
Rinse Volume
|
High
|
Medium
|
Low
|
|
Pump Flood
|
13
|
13
|
13
|
|
Eductor
|
14
|
12
|
10
|
|
Agitation
|
14
|
12
|
10
|
|
Bypass
|
10
|
8
|
6
|
|
Tank
|
360
|
360
|
360
|
|
Boom
|
As Required
|
As Required
|
As Required
|

N106856-UN-24SEP13

N99951-UN-17SEP12
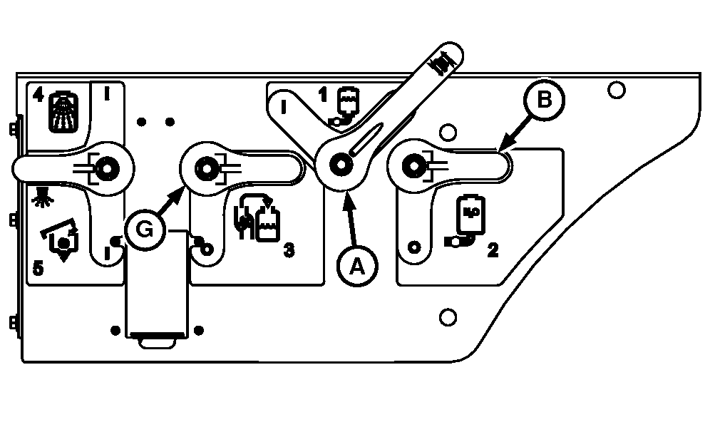
A - Solution Sump Valve
B - Rinse Tank Sump Valve
C - Pump On/Off Button
D - Pump Speed Increase Button
E - Pump Speed Decrease Button
F - Agitation Button
G - Bypass Valve
Close solution tank sump valve (A).
-
Open rinse tank sump valve (B). Wait 13 sec. before starting
pump.
-
NOTE: Starting solution pump may increase the engine rpm.
Press pump on/off button (C) on keypad.
-
Adjust pump speed, if desired, using pump speed increase button
(D) and pump speed decrease button (E).
-
Press agitation button (F) to open agitation valve and rinse
agitation line.
-
Press agitation button again to close valve.
-
Open bypass valve (G) to rinse bypass line.
-
Close bypass valve.
-

N106857-UN-24SEP13

N98841-UN-17SEP12
A - Tank Rinse Nozzle/Eductor Valve
B - Eductor Rinse Valve
C - Eductor Sump Valve
Set eductor/tank rinse valve (A) to eductor position and
rinse eductor.
-
Open eductor rinse valve (B) to rinse eductor.
-
Open eductor sump valve (C) to rinse eductor line.
-
Close eductor rinse valve and eductor sump valve.
-

N106862-UN-24SEP13
A - Tank Rinse Nozzle/Eductor Valve
Set tank rinse nozzle/eductor valve (A) to tank rinse position
and rinse tank with rinse nozzles.
-
Close rinse tank sump valve and open solution tank sump valve.
NOTE: Opening the solution tank sump valve allows the tank walls
to be washed down using rinsate solution. This conserves rinse water
to ensure that enough remains to complete the rinse procedure.
-
Allow solution tank to rinse for several minutes.
-
Close solution tank sump valve and open rinse tank sump valve.
-
Finish rinsing solution tank with rinse water.
-
Set eductor/tank rinse valve to spray position.
-
Unfold boom.
-

N106858-UN-24SEP13

N94866-UN-21SEP11
A - Solution Tank Sump Valve
B - Rinse Tank Sump Valve
C - Master Spray On Button
D - Pump On/Off Button
Open solution tank sump valve (A).
-
Close rinse tank sump valve (B).
-
CAUTION: Spray rinse solution in an area where people, animals,
vegetation and water supply etc. cannot be contaminated.
Press master spray on button (C) to spray off rise solution
from solution tank.
-
When rinse solution runs out, open rinse tank sump valve.
-
Close solution tank sump valve.
-
NOTE: Chemical build-up in aspirators can occur if not cleaned
out thoroughly and regularly. To clean, close all nozzles except
the aspirator nozzles during boom rinse.
Let the boom rinse with fresh clean rinse water.
-
NOTE: Engine rpm will revert to previous level when solution
pump is turned off, if throttle position has not been adjusted.
Press pump on/off button (D) to stop pump.
-
Close rinse tank sump valve.