CAUTION: Spray system can contain hazardous material which can
cause serious injury or death to you or others. Wear protective clothing,
eyewear, and gloves. Use rinse system in a area where people, animals,
vegetation and water supply etc. cannot be contaminated.
NOTE: To rinse pump, boom, and flowmeter only, perform the following
procedure.
During a boom rinse cycle the pump bleed and
air bleed lines will add some fresh water to the solution tank. This
could result in the product being diluted and/or extra product in
the tank.

N106859-UN-24SEP13

N116112-UN-19FEB15
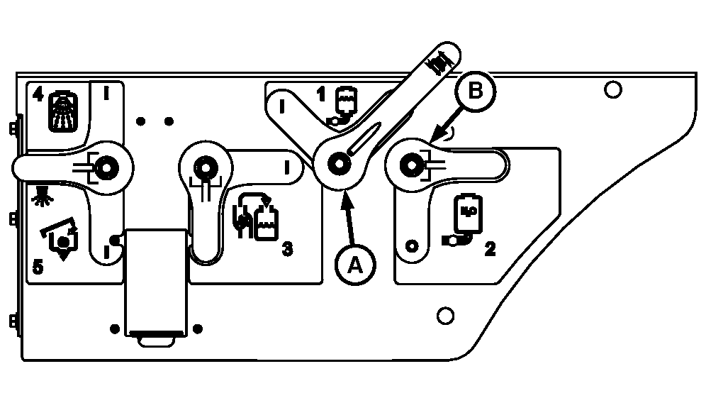
A - Solution Tank Sump Valve
B - Rinse Tank Sump Valve
C - Pump On/Off Button
D - Pump Speed Increase Button
E - Pump Speed Decrease Button
F - Master Spray On Button
Unfold boom.