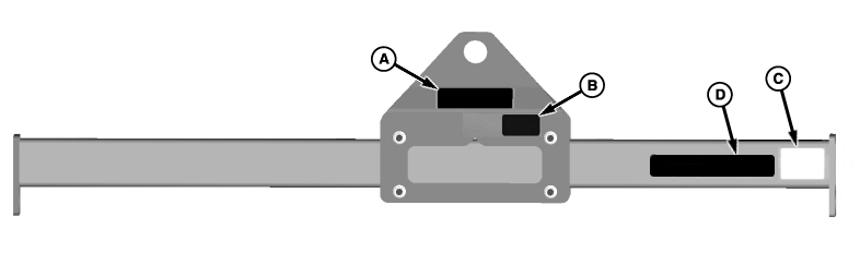
Lift Bar Decals

N116132-UN-25MAR15
Lift Bar

SSN317012-UN-19JUN08
Decal A
Warning! Avoid serious injury or death
resulting from crushing during solution tank skid and dry box removal
and installation.
-
Use only for John Deere 4 Series sprayer solution tank skid
and dry box.
-
Empty application system prior to installation and removal processes.
-
Stay clear of application system during installation and removal
processes.
-
Follow instructions included with lift bar.

SSN317056-UN-19JUN08
Decal B

SSN317016-UN-19JUN08
Decal C
Decal B—
IMPORTANT: Torque each bolt to 200 lb-ft (271 N·m). Retorque
before each time of use and after each time bolts are loosened.
Decal C—
To rear of machine

N106668-UN-18SEP13
Decal D
Warning! Avoid serious injury or
death resulting from crushing during solution module and dry box removal
and installation. Below are lifting dimensions by model:
|
4030 Lift Bar Adjustment Without DI
|
4030 Lift Bar Adjustment With DI
|
|
Boom Size
|
Dimension (B)
|
Boom Size
|
Dimension (B)
|
|
27.4 m (90 ft.)
|
873 mm (34 in.)
|
27.4 m (90 ft.)
|
827 mm (33 in.)
|
|
30.5 m (100 ft.)
|
907 mm (36 in.)
|
30.5 m (100 ft.)
|
863 mm (34 in.)
|
|
36.6 m (120 ft.)
|
1259 mm(50 in.)
|
36.6 m (120 ft.)
|
1241 mm (49 in.)
|
|
Dry Spreader
|
(See New Leader installation instructions.)
|
Dry Spreader
|
(See New Leader installation instructions.)
|
|
4030 POLY TANK Lift Bar Adjustment Without
DI
|
4030 POLY TANK Lift Bar Adjustment With DI
|
|
Boom Size
|
Dimension (B)
|
Boom Size
|
Dimension (B)
|
|
27.4 m (90 ft.)
|
851 mm (34 in.)
|
27.4 m (90 ft.)
|
795 mm (31 in.)
|
|
30.5 m (100 ft.)
|
888 mm (35 in.)
|
30.5 m (100 ft.)
|
830 mm (33 in.)
|
|
36.6 m (120 ft.)
|
1253 mm (49 in.)
|
36.6 m (120 ft.)
|
1221 mm (48 in.)
|
|
Dry Spreader
|
(See New Leader installation instructions.)
|
Dry Spreader
|
(See New Leader installation instructions.)
|
|
4038 Lift Bar Adjustment Without DI
|
4038 Lift Bar Adjustment With DI
|
|
Boom Size
|
Dimension (B)
|
Boom Size
|
Dimension (B)
|
|
27.4 m (90 ft.)
|
891 mm (35 in.)
|
27.4 m (90 ft.)
|
844 mm (33 in.)
|
|
30.5 m (100 ft.)
|
925 mm (36 in.)
|
30.5 m (100 ft.)
|
876 mm (34 in.)
|
|
36.6 m (120 ft.)
|
1275 mm (50 in.)
|
36.6 m (120 ft.)
|
1249 mm (49 in.)
|
|
Dry Spreader
|
(See New Leader installation instructions.)
|
Dry Spreader
|
(See New Leader installation instructions.)
|
|
R4045 Lift Bar Adjustment Without DI
|
R4045 Lift Bar Adjustment With DI
|
|
Boom Size
|
Dimension (B)
|
Boom Size
|
Dimension (B)
|
|
27.4 m (90 ft.)
|
904.6 mm (35.62 in.)
|
27.4 m (90 ft.)
|
844.8 mm (33.25 in.)
|
|
30.5 m (100 ft.)
|
937.1 mm (36.89 in.)
|
30.5 m (100 ft.)
|
877.9 mm (34.56 in.)
|
|
36.6 m (120 ft.)
|
1279.6 mm (50.37 in.)
|
36.6 m (120 ft.)
|
1200.9 mm (47.27 in.)
|
|
Dry Spreader
|
(See New Leader installation instructions.)
|
Dry Spreader
|
(See New Leader installation instructions.)
|
|
|
OUO6092,0000978-19-20150325
|
|