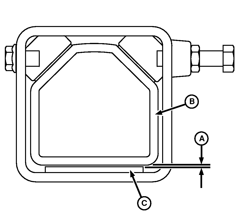
Check Shim Gap on Axle Tread Adjust—After First 100 Hours

N100281-UN-25SEP12
A - Gap
B - Axle Knee
C - Lower Shim Pad
Measure gap (A) between lower machined surface of axle knee
(B) and upper surface of lower shim pad (C). If gap exceeds 1.5 mm
(0.060 in.) at outside end of pad, adjust shim gap. (See Adjusting
Shim Gap On Axle Tread Adjust in Chassis section.)

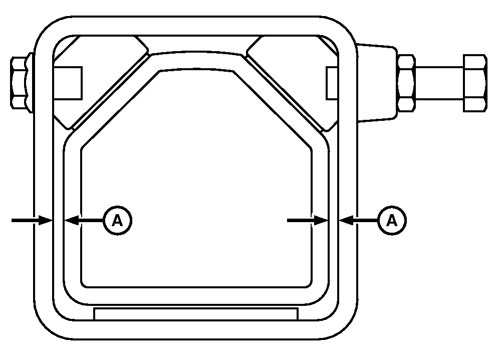
N101663-UN-28JAN13
A - Gap
Measure gap (A) between axle knee and side of axle frame.
Gap must be 3 mm (0.118) minimum on each side of axle knee. If gap
is less than required plastic wear pads must be replaced.
|
|
OUO6435,000082E-19-20130128
|
|