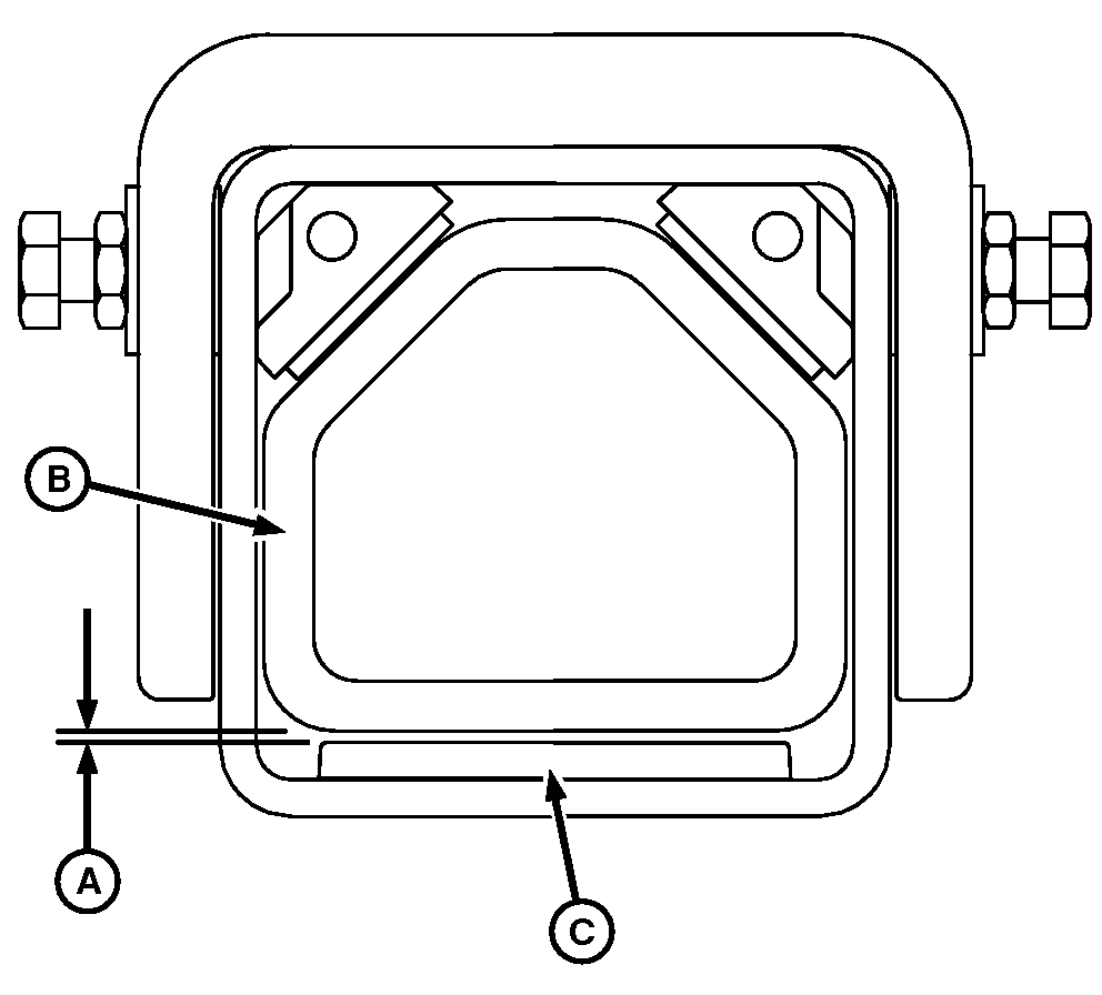
Determining When to Adjust Shim Gap on Axle Tread Adjust

N83532-UN-12MAR09
A - Gap
B - Axle Knee
C - Lower Shim Pad
Shim gap adjustment should be made:
If during operation it is observed that the suspension moves
back-and-forth excessively.
NOTE: If sticking occurs, remove debris from axle knees and
spray with TY25733 teflon based lubricant.
If tread adjustment becomes difficult or axle knee begins binding
or catching during tread adjustment.
When gap (A) between lower machined surface of axle knee (B)
and upper surface of lower shim pad (C) exceeds 1.5 mm (0.060 in.)
at outside end of pad.
NOTE: Gap should not include the chamfered area of the pad.
|
|
OUO6092,00001E4-19-20090709
|
|