Clean Stuck Solution Valve

BM017101-UN-28SEP16
A - Clamps
When the solution valve handle requires a biggest effort to
be open, a lot or dry solution is in the valve. With solution deposit
in the valve, the ball movement is hampered. This way, the handle
can brake and ball can deform stucking the valve.
IMPORTANT: .
-
Do not perform excessive effort on the valve when it is stuck.
-
Not perform the system cleaning after the machine usage cause
residue accumulation on the valve and stuck it.
CAUTION: Spray system can contain hazardous material which can
cause serious injury or death to you or others. Wear protective clothing,
eyewear, and gloves. Clean filter in an area where people, animals,
vegetation, and water supply cannot be contaminated.
-
Drain and flush solution system. (See Cleaning Solution System in Storage Section.)
CAUTION: Do not drain solution onto the ground. Drain it into
a container. Drain solution in an area where people, animals, vegetation,
and water supply cannot be contaminated.
-
Turn the handle to close position.
-
Remove the clamps (A).
-
Remove the valve from machine.
-

BM017051-UN-07SEP16

BM017052-UN-07SEP16
A - Valve Screws (4 used)
B - Washers (4 used)
C - Nuts (4 used)
D - Ball
E - Valve O-ring (1 used)
F - Ball Seat (2 used)
Remove the nuts (C), the washers (B), and the valve screws
(A).
-
Separate the plates.
-
Remove the ball (D).
-
Remove the ball seats (F) and the valve O-rings (E).
-
Clean ball seat and valve O-ring area.
-

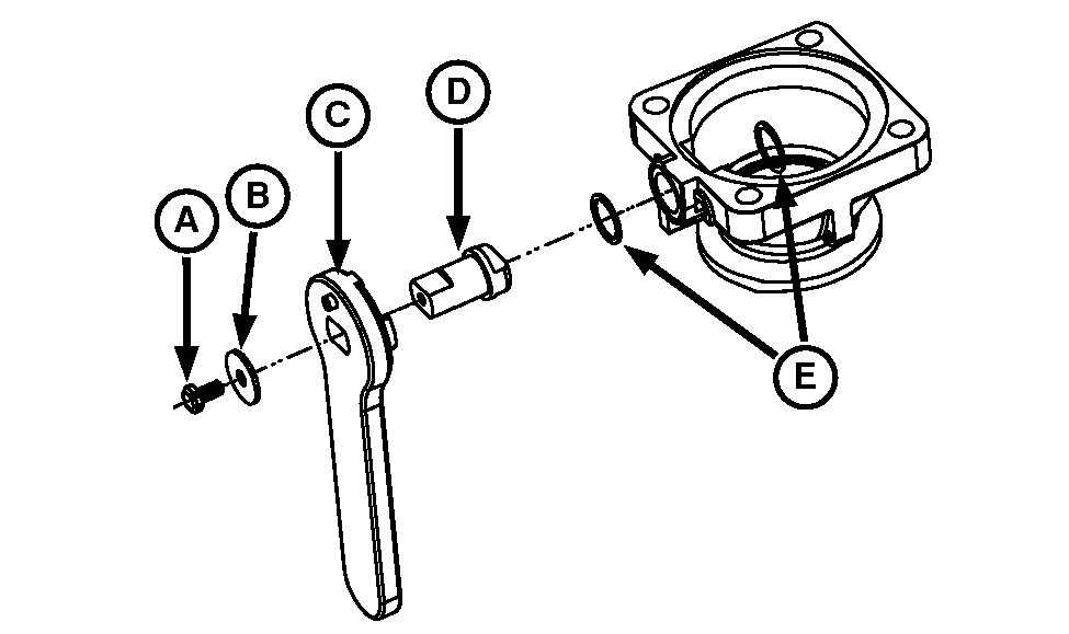
BM017053-UN-07SEP16
A - Handle Screw
B - Handle Washer
C - Handle
D - Stem Bushing
E - Thrust Washers
Remove the handle screw (A) and the handle washer (B).
-
Remove the handle (C).
-
Remove the stem bushing (D) and the thrust washers (E).
-
NOTE: Lubricate the thrust washers with oil.
Install a new stem bushing (D) and new thrust washers (E) into
the valve.
-
Reinstall the handle (C) with handle screw (A) and handle washer
(B).
-
Install valve O-ring after lubricating it with grease.
-
NOTE: Lubricate the ball with honey wax.
Install a new ball in the valve.
-
Press the ball seats into the plates after cleaning.
-
Reinstall the plates with the screws and washers.
IMPORTANT: The word Banjo has to be at the top of the plate.
NOTE: The valve O-ring, the ball, the stem bushing, the thrust
washer, and handle are available as spare parts.
|
|
TS95756,000039C-19-20160928
|
|