Wheel Bolts and Nuts

KM1000943-UN-11AUG09
After the first hour of operation and then every 50 hours of
operation, tighten wheel nuts to 350 Nm (258 lb-ft).

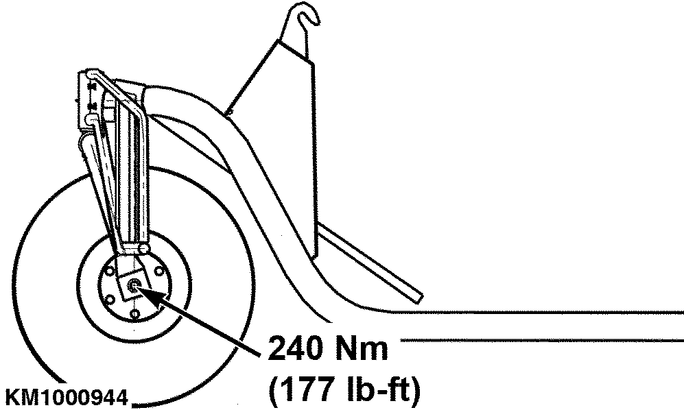
KM1000944-UN-11AUG09
After the first hour of operation and then every 50 hours
of operation, tighten wheel bolt to 240 Nm (177 lb-ft).
|
|
KM00321,00001E5-19-20090811
|
|