Installing Front Hanger

Use Correct Mounting Cap Screws

To prevent damage to the clutch housing of 5000 Series Tractors, the correct cap screws must be used when installing the front hanger.

  • 5200, 5300, 5400 and 5500 Tractors: Most tractors require coarse thread (2.0 mm pitch) cap screws when installing the front hanger. On later production tractors, cap screw thread pitch must be verified. Verify thread pitch either by using a thread gauge to measure the threads in the holes of the clutch housing, or by installing M14 x 60 cap screw with 2.0 mm thread pitch by hand into clutch housing. If cap screw does not install easily into hole, see your authorized dealer for M14 x 65 cap screws with 1.5 mm thread pitch.

    Tractor Use Coarse Thread Cap Screws Verify Cap Screw Thread Pitch
    5200 Collar Shift Transmission (S/N -320896) (S/N 320897- )
    5200 TSS (S/N -320742) (S/N 320743- )
    5300 Collar Shift Transmission (S/N -331439) (S/N 331440- )
    5300 TSS (S/N -330986) (S/N 330987- )
    5400 Collar Shift Transmission (S/N -341447) (S/N 341448- )
    5400 TSS (S/N -341081) (S/N 341082- )
    5500 Tractors - All

     

  • 5210, 5310, 5410, and 5510 Tractors: Use M14 x 60 cap screws with 2.0 mm thread pitch.
  • 5220, 5320, 5420, and 5520 Tractors: Use M14 x 60 cap screws with 2.0 mm thread pitch.
  • 5225, 5325, 5425, and 5525 Tractors: Use M14 x 60 cap screws with 2.0 mm thread pitch.

OUO1043,0000209 -19-20OCT04-1/5


Install Front Hanger

NOTE: Cap screws will be tightened to specification during the frame alignment procedure.

1. Remove cap screw (A) and oil line clamp (B).


A-Cap Screw
B-Oil Line Clamp

LV6719

OUO1043,0000209 -19-20OCT04-2/5


causym CAUTION: FRONT HANGER IS HEAVY, USE PROPER SUPPORT WHILE INSTALLING FRONT HANGER, TO PREVENT INJURY.

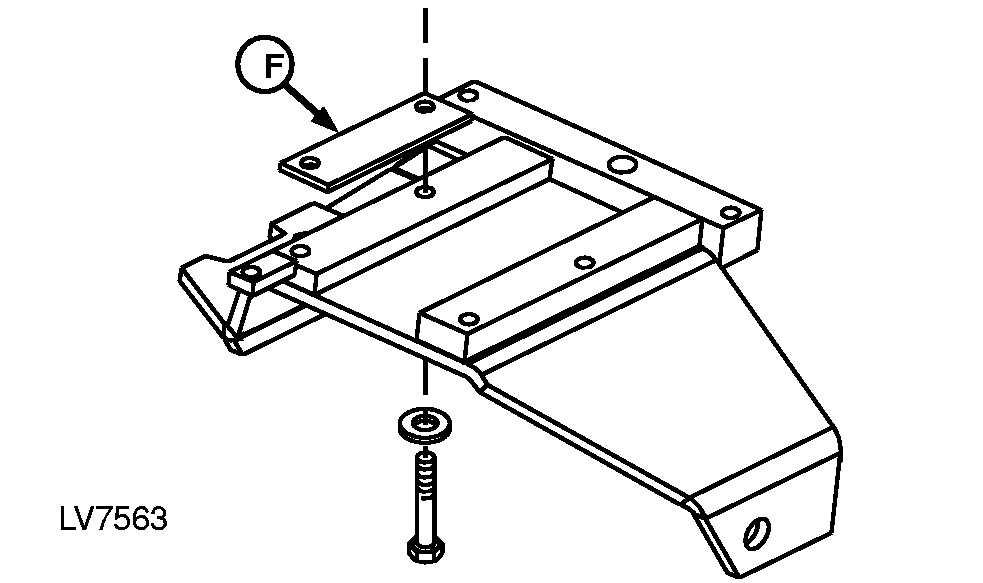
NOTE: For straddle mount 5220-5520, 5225-5525 tractors and all 5200-5500 and 5210-5510 tractors, install 1/4 in. thick spacer plate (F) when installing front hanger.5225-5525 tractors, install 1/8 in. thick spacer plate (F) when installing front hanger.

NOTE: Early model tractors may have a longer mid-mount valve bracket, located below tractor right side of operator platform, which interferes with backhoe front hanger. To eliminate interference, remove 30 mm (1.2 in.) of material from bottom edge of mid-mount valve bracket.

2. Install front hanger (C), washers, M14 x 60 cap screws (D) and spacer plate (F), if necessary, to tractor clutch housing (E). Snug bolts.


C-Front Hanger
D-M14 x 60 Cap Screw (6 used)
E-Tractor Clutch Housing
F-Spacer Plate (1/4 in. thick used on 5000, 5010 and 5020) (1/8 in. thick used on 5025)

LV5812
LV7563

OUO1043,0000209 -19-20OCT04-3/5


3. Install oil line clamp (H) to front hanger with nut (G) and cap screw (F) from kit.


G-Nut
H-Oil Line Clamp
I-M14 x 35 Cap Screw

LV6720

OUO1043,0000209 -19-20OCT04-4/5


4. On cab tractors, remove cap screws, nuts and left front crop guard (L). Cut notch as shown to allow subframe to be installed without interference. Install cap screws, nuts and crop guard.


J-Notch Width-32 mm (1.25 in.)
K-Distance Above Bend-25 mm (1 in.)
L-Tractor Left Crop Guard

LV6721

OUO1043,0000209 -19-20OCT04-5/5