Servicing Mower Blades
CAUTION: Avoid injury! Blades are sharp. Always wear gloves
when handling blades or working near blades. Replace blades
if defective. Never straighten or weld them.
Checking for Bent Mower Blades
-
Park machine on a level surface, not on a slope.
-
Disengage mower blades.
-
Fully raise the mower.
-
Lock the park brake.
-
Stop the engine.
-
Remove the key.
-
Wait for engine and all moving parts to stop before you leave
the operator’s seat.
-
Block the mower.
-

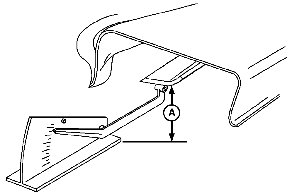
LV18692-UN-20AUG13
A - Distance - Blade to Level Surface
Measure the distance (A) from blade tip to level surface
with a ruler or a leveling gauge available at your John Deere dealer.
-
Rotate blade 180° and measure the distance between other
end of blade and surface.
-
Check all blades. Install new blade if difference between measurements
is more than 3 mm (1/8 in.).
Removing Mower Blades
-
Park machine safely. (See Parking Safely in SAFETY.)
-
Remove mower from machine.
-
Use a suitable lifting device to raise mower to gain access
to blades.
-
Insert wood block between blade and mower to prevent blade from
turning when removing bolt.
-

LV18693-UN-20AUG13
A - Bolt
B - Washer
C - Washer
Remove bolt (A), washer (B), washer (C) and blade.
Installing Mower Blades
-
Install blade with cutting edge toward the ground.
-

LV18694-UN-20AUG13
A - Washer
B - Washer
C - Bolt
Install blade, washer (A), washer (B) and bolt (C).
-
Insert wood block between blade and mower to prevent blade from
turning when tightening bolt. Tighten to 122 N•m (90 lb-ft).
Sharpening Blades
-
CAUTION: Avoid injury! Rotating blades are dangerous. Before
adjusting or servicing mower:
-
Disconnect spark plug wire(s) or battery negative (-) cable
to prevent engine from starting accidently.
-
Always wear gloves when handling mower blades or working near
blades.

LV18695-UN-20AUG13
A - Bevel
B - Cutting Edge
Sharpen blade with grinder, hand file or electric blade sharpener.
-
Keep original bevel (A) when grinding..
-
Blade should have 0.40 mm (1/64 in.) cutting edge (B) or less.
-
Balance blade before installing.
Balancing Blades
-
Clean the blade.
-

LV18696-UN-20AUG13
Put blade on a nail in a vice or in a vertical wall stud.
Turn blade to horizontal position. If blade is not balanced, heavy
end of blade will drop.
-
Grind bevel of heavy end. Do not change blade bevel.
|
|
UP00731,0000090-19-20130905
|
|