-
Park machine on a level surface, not on a slope.
-
Lock park brake.
-
Disengage mower blades.
-
Raise mower fully and stop engine.
-
Remove key.
-
Wait for engine and all moving parts to stop before leaving
operator’s seat.
-
Remove height lock pin.
-
NOTE: Mower wheels should not contact ground during leveling.
Lower mower slowly to the middle cutting height range, or 3
inches (76 mm)
-
Pull height lock link fully forward and lock at first hole available.
Lower mower so pin supports height.
-

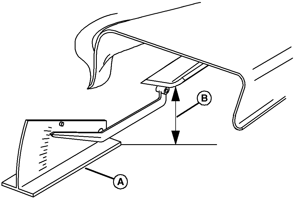
MXAL41824-UN-18FEB13
Leveling Gauge (A) is available from your John
Deere Dealer.
A - Leveling Gauge
B - Blade Tip
Measure distance from each outside blade tip (B) to the level
surface.
-
NOTE: Front of mower should never be higher than rear of mower.
Front measurement should be 0 - 3.18 mm (0 - 1/8 in.) lower
than rear.
-
Remove deck and adjust front yokes as required to obtain desired
measurement.
-
If locks are not releasing or locking easily, front link may
need to be loosened slightly. A sticking lock might require the opposing
front yoke be tightened slightly.