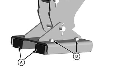
Install Optional Street Pads

LV27468
LV27468-UN-02FEB17

A - Street Pads

B - Nuts

Install four street pads (A) on stabilizers with nuts (B).

UP00731,00001AC-19-20170202