Replacing Tail/Turn and Warning Light Bulb
NOTE: Taillight can be serviced by removing the rear assembly
lens only.
-
Park machine safely.
-

LV25747-UN-05JUL16

LV25748-UN-05JUL16
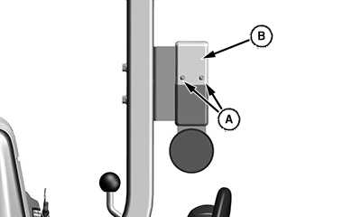
A - Screws
B - Lens
C - Bulb
Remove two screws (A) and lens (B).
-
Pull bulb (C) straight out to remove. Do not twist bulb.
-
Push new bulb into socket.
-
Check operation of taillights and turn signals and warning lights.
-
Install lens and screws.
|
|
UP00731,0000268-19-20160630
|
|