Check PTO Driveshaft Length
Avoid Damage! The PTO driveshaft is a standard length.
Certain driveshaft applications cause contact with transmission. Shorten
driveshaft length to avoid contact.
Checking PTO Driveshaft
-
Check PTO driveshaft movement before operating implement.
Park machine safely.
-
Install driveshaft on implement.
-
Install implement on tractor. Do not install the driveshaft
on tractor.
-
Check the fully shortened position of the driveshaft.
-
Push the driveshaft in to its shortest length by hand.
-

LVAL38278-UN-21AUG12
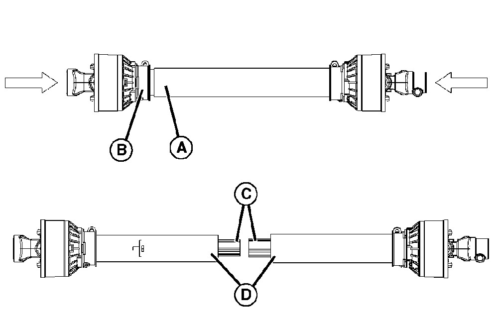
A - Outer Tube Shield
B - Shield Bell
C - Ends of the Driveshaft
D - Ends of the Shield Tubes
Check the area where the outer tube shield (A) meets the
shield bell (B).
-
If the outer tube shield does not touch the shield bell, make
a mark on the inner tube where the outer tube shield ends.
-
Install driveshaft on tractor and adjust the center link to
level the implement for operating while in lowered position. (See
Using 3-Point Hitch.)
-
Have an observer stand a safe distance from the implement to
tell you when the driveshaft is fully shortened.
-
Set the tractor at low idle and raise the implement, stopping
when the outer tube shield reachs the mark on the inner tube, or the
outer tube shield touches the shield bell.
-
If the implement is fully raised, and the driveshaft does not
reach the fully shortened position, with either the outer tube shield
at the mark or touching the bell shield, the driveshaft is ready for
operation.
-
If the driveshaft reaches the fully shortened position before
the implement is fully raised, the driveshaft should be shortened.
Shortening the PTO Driveshaft
-
Avoid Injury! Do not use the driveshaft with an implement
if the rotating shaft is not covered. Check to make sure that shaft
is covered before operating.
See your John Deere dealer for assistance. Or, remove 25 mm
(1 in) from the ends of the driveshaft (C) and the ends of the shield
tubes (D).
-
Check driveshaft length again, and shorten further if needed.
|
|
KN52281,1003EC2-19-20161129
|
|