Preparing Tractor Hydraulics

1. Park tractor safely, shut off engine and remove key.

2. Move hydraulic control levers in both directions to relieve system pressure.

NOTE: Power beyond ports are located above tractor's right rear tire.

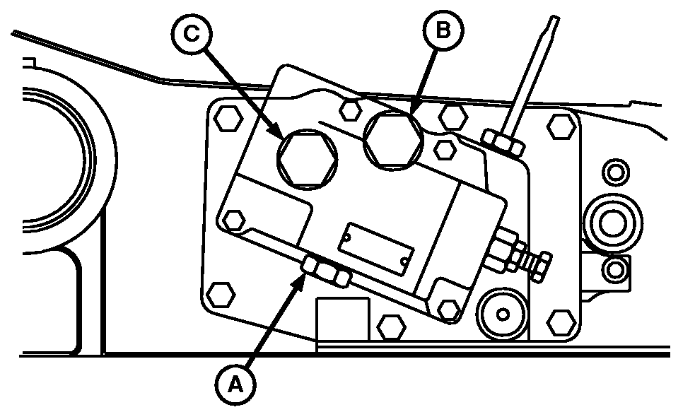
3. Remove pressure port plug (A), sump return port plug (B) and pressure return port plug (C).


A-Pressure Port
B-Sump Return Port
C-Pressure Return Port

LV5819

Tractor with one or no SCVs

LV5821

Tractor with two or three SCVs

OUO1043,000020C -19-13DEC00-1/2


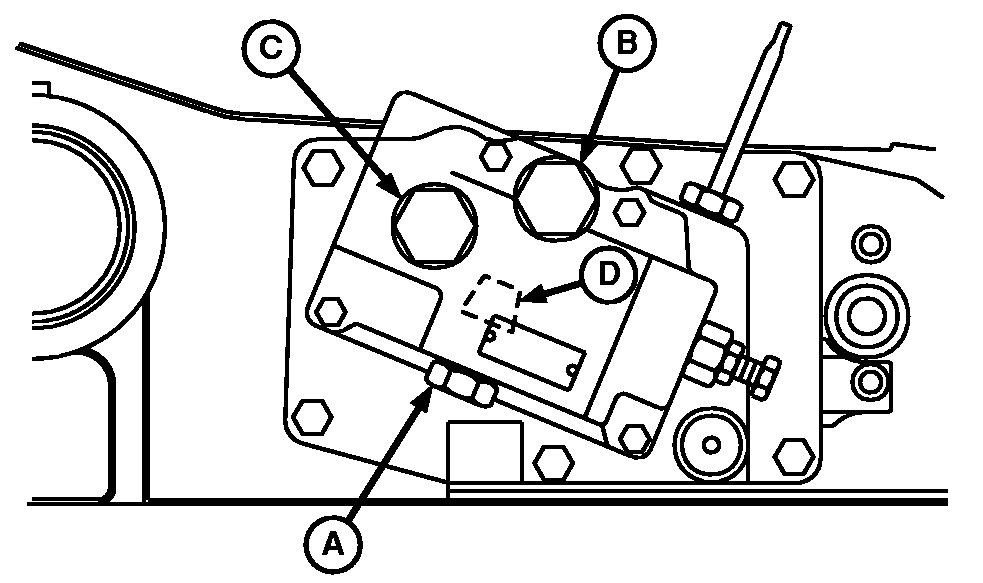
NOTE: Installing pipe plug into pressure port provides hydraulic power to backhoe control valve when backhoe is connected.

4. Install 3/8 in. pipe plug from kit hardware bag inside pressure port (A).

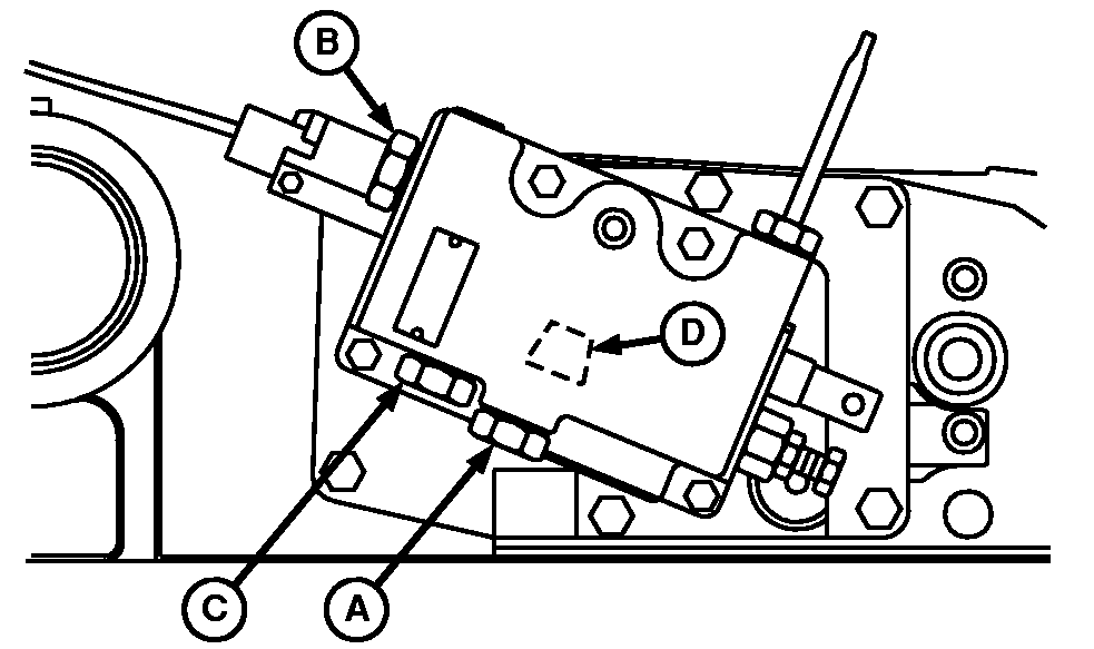
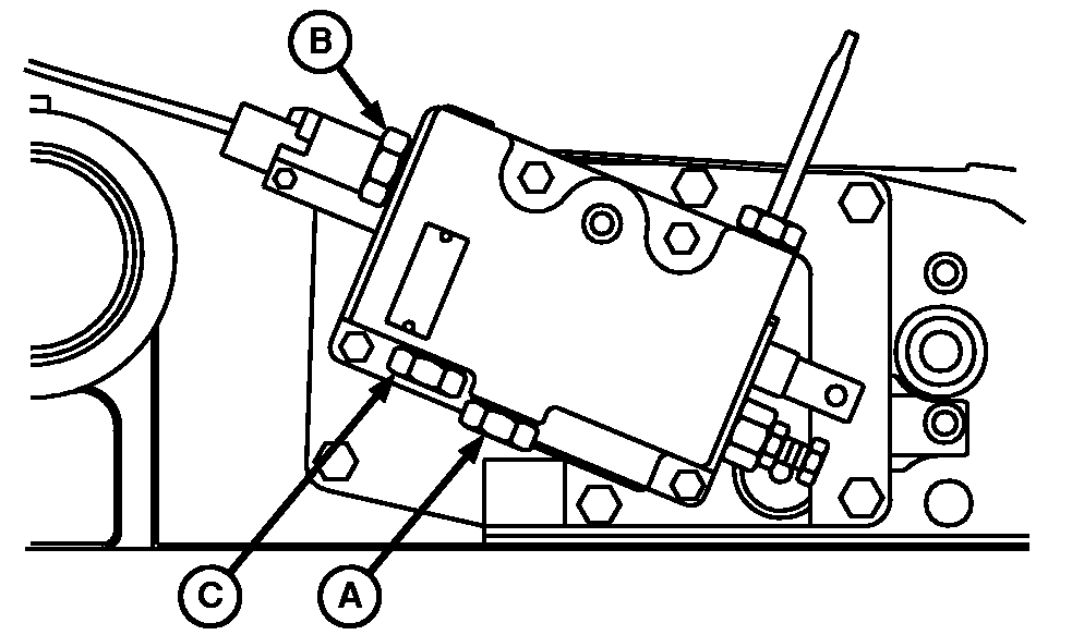
5. Install adapter fitting to pressure port (A), sump return port (B) and pressure return port (C).

6. Connect 740 mm (29 in.) hydraulic line with male quick-disconnect coupler, yellow ring and dust cap to sump return port (B) adapter fitting. Ensure yellow ring is installed on male quick-disconnect coupler.

IMPORTANT: To prevent tractor hydraulic system damage, pressure hose from Step 7 and pressure return hose from Step 8 MUST be connected together, when backhoe is detached.

7. Connect 740 mm (29 in.) hydraulic line with female quick-disconnect coupler, 90° fitting, hose cover, tie straps, and caution tag to pressure port (A) adapter fitting. Ensure caution tag is attached to female quick-disconnect coupler.

8. Connect 740 mm (29 in.) hydraulic hose with male quick-disconnect coupler, hose cover and tie straps to pressure return port (C) adapter fitting.

LV5820

Tractor with one or no SCVs

LV5822

Tractor with two or three SCVs


A-Pressure Port
B-Sump Return Port
C-Pressure Return Port
D-3/8 in. Pipe Plug

OUO1043,000020C -19-13DEC00-2/2