Replacing Bucket Teeth

causym CAUTION: BUCKET TEETH ARE HEAVY. WHEN YOU REMOVE THEM, THEY MAY PINCH FINGERS. WHERE GLOVES AND SAFETY GLASSES WHEN YOU REMOVE TEETH.

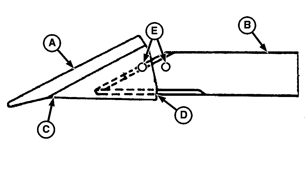
1. Remove tooth (A) from shank (B):

  • Drive chisel in at (D).
  • When tooth is loose, hit area (C) with hammer.

2. Clean the shank.

3. Install new tooth.

4. Peen area (E) on each side.

LV5609


A-Tooth
B-Shank
C-Area to be Hammered
D-Location of Chisel
E-Area to be Peened

OUO1085,00002B8 -19-16NOV00-1/1