Assemble Dethatcher
-
NOTE: The spacer (gg) fits inside the flange bearing (aa).

MXT008948-UN-14SEP13
Assemble a 3/8 x 1-3/4 in. bolt (R), 3/8 in. washer (jj),
flange bearing (aa), spacer (gg), and 3/8 in. locknut (dd) to the
right hand bracket (K) as shown. Tighten nylock nut.
-

MXT008949-UN-14SEP13
Assemble a 3/8 x 1-3/4 in. bolt (R), 3/8 in. washer (jj),
flange bearing (aa), spacer (gg), and 3/8 in. locknut (dd) to the
left hand bracket (L) as shown. Tighten nylock nut.
-

MXT008950-UN-14SEP13
Assemble a 3/8 x 0.9 in. shoulder bolt (V) and 3/8 in. locknut
(dd) to the right hand bracket (K) and left hand bracket (L) as shown.
Tighten nylock nut.
-

MXT008951-UN-14SEP13
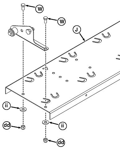
Attach the right hand and left hand brackets to the tine
spring shield (J) using two 3/8 x 3/4 in. bolts (W), 5/16 in. washers
(ii), and 3/8 in. locknuts (dd) as shown. Tighten.
-

MXT008952-UN-14SEP13
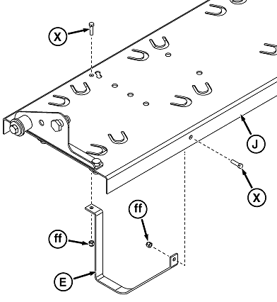
Attach the two skid gauges (E) to each side of the tine spring
shield (J) using four 1/4 x 3/4 in. bolts (X) and 1/4 in. locknuts
(ff) as shown. Tighten locknuts.
-
CAUTION: Avoid injury! Tines are sharp. Wear heavy gloves when
working around tines.
NOTE: Slight looseness of the spring tines under the bent tabs
is normal.

MXT008953-UN-14SEP13
Starting with the front row of tabs (ll), slide a spring
tine under a set of tabs. Insert a screw driver (mm) or punch down
into the platform and bend each tab until the end of the tab is bent
down even with the surface of the platform. Repeat to attach all spring
tines.
|
|
OUO2005,00001EB-19-20131023
|
|