Installing Unit on Tractor

MXT008960
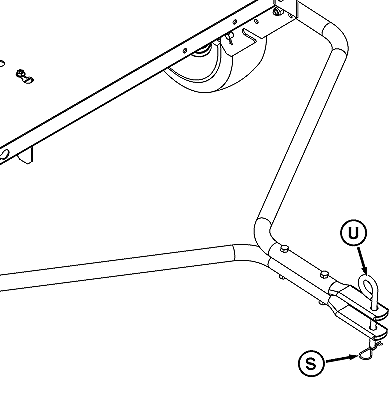
MXT008960-UN-10OCT13

Remove 3/32 x 2-5/16 in. hair cotter pin (S) and hitch pin (U) from attachment and install through tractor hitchplate.

OUO2005,00001EE-19-20130916