Checking PTO Driveshaft Length
IMPORTANT: The PTO driveshaft is a standard length. Certain
driveshaft applications may cause contact with transmission. Driveshaft
length may need to be shortened to avoid contact.
Checking PTO Driveshaft
NOTE: Check PTO driveshaft movement before operating implement.
-
Park machine safely. (See Parking Safely in the Safety section.)
-
Install driveshaft on implement.
-
Install implement on tractor. Do not install driveshaft on tractor.
-
Check the fully shortened position of the driveshaft.
-
Push the driveshaft in to its shortest length by hand.
-

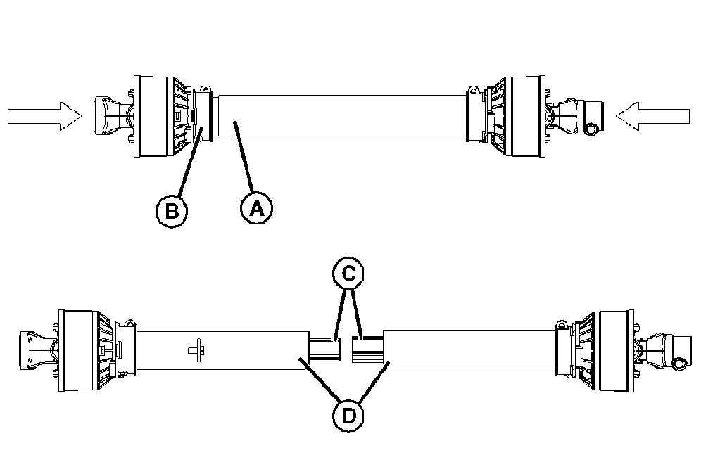
MXAL41794-UN-18FEB13
Check the area where the outer tube shield (A) meets the
shield bell (B).
-
If the outer tube shield does not touch the shield bell, make
a mark on the inner tube where the outer tube shield ends.
-
Install driveshaft on tractor and adjust the center link to
level the implement for operating while in lowered position. See Using
3-Point Hitch in OPERATING Section.
-
Have an observer stand a safe distance from the implement to
tell you when the driveshaft is fully shortened.
-
Set the tractor at low idle and raise the implement, stopping
when the observer sees the outer tube shield reach the mark on the
inner tube, or the outer tube shield touches the shield bell.
-
If the implement is fully raised, and the driveshaft does not
reach the fully shortened position, with either the outer tube shield
at the mark or touching the bell shield, the driveshaft is ready for
operation.
-
If the driveshaft reaches the fully shortened position before
the implement is fully raised, the driveshaft will need to be shortened.
Shortening the PTO Driveshaft
CAUTION: Do not use the driveshaft with an implement if the
rotating shaft is not completely covered. Check to make sure shaft
is covered before operating.
-
See your John Deere dealer for assistance, or remove 25mm (1
in.) from the ends of the driveshaft (C) and the ends of the shield
tubes (D).
-
Check driveshaft length again, and shorten further if needed.
|
|
OUO1023,0000041-19-20130221
|
|