Replacing Fuses and Relays (X730, X734, X738, X739)
Locate Fuses and Relays

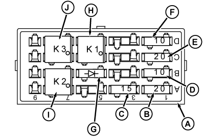
MXT013403-UN-08JAN15
Load Center

MXT013414-UN-14JAN15
30 Amp Master Fuse
A - Fuse Block
B - Unswitched Power to Key Switch
C - Power Port
D - Lights
E - Switched Power
F - Unswitched Power to EFI K1 Relay
G - PTO Clutch Diode
H - EFI K1 Relay
I - Fuel Pump Relay
J - Safety Relay
K - 30 Amp Master Fuse
Remove and Check Fuses
-
Pull fuse from socket.
-

MXAL42759-UN-25MAR13
Fuses may look slightly different than shown
Check metal clip (H) in fuse window. Discard fuse if clip
is broken.
-
Install fuse.
|
|
OUO2004,0000B86-19-20150114
|
|