Adjusting Drive Belt Tension

MXT007374-UN-29MAY13
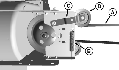
Picture Note: Bottom view, some
parts removed.
A - Drive Belt
B - Tensioning Spring
C - Tensioning Arm
D - Idler Sheave
Proper tension is maintained on the drive belt (A) by the tensioning
spring (B), connected to the tensioning arm (C).
If tensioning problems exist, check to verify that:
-
Tensioning arm pivots freely.
-
Tensioning sheave (D) rotates freely, and is not damaged.
-
Tensioning spring is connected to tensioning arm, and is not
damaged.
Remedy any defects, if applicable.
|
|
TH84124,0000163-19-20130524
|
|