Adjusting Mower Level
CAUTION: Rotating blades are dangerous. Before
adjusting or servicing mower:
-
Disconnect spark plug wire(s) or battery negative (—)
cable to prevent engine from starting accidently.
-
Always wear gloves when handling mower blades or working near
blades.
NOTE: Mower wheels should not contact the ground when leveling
the deck.
-
Park machine safely. (See Parking Safely in the SAFETY section.)
-
Inflate tires to the correct pressure.
-
Position caster wheels to the forward driving position.
-
Set mower to preferred cutting height, and lower deck into the
mowing position.
-
Measure mower level (side-to-side).
-

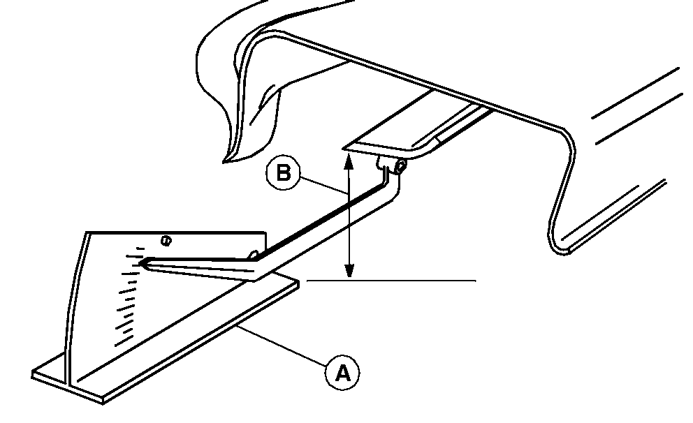
MXAL42797-UN-09APR13
A convenient leveling gauge (A) (AM130907) is available
from your dealer.
Position mower blades as follows and measure from each outside
blade tip (B) to the level surface.
-

MXAL42798-UN-09APR13
Turn left blade (C) as shown. Hold and turn right blade (D)
as shown. Take measurement for both blades.
The difference between blade measurements must not be more than
3 mm (1/8 in.).
-

MXT005331-UN-22MAY13
Adjust mower level, if necessary, by turning rear nuts (E)
clockwise to raise the side of the mower deck, or counterclockwise
to lower the mower deck.
NOTE: Ensure bottom of lock nut is fully engaged on threaded
fitting to avoid hardware loosening during operation.
-
Measure mower level (front-to-rear).
-

MXAL42800-UN-09APR13
Turn right blade (D) so blade tip points straight forward.
-
Measure from blade tip to the surface. Take measurement for
both blades. The front blade tip must be to specification lower than
rear blade tip.
| Item | Measurement | Specification |
|
Front-to-Rear Blade Tip | Height | 3–6 mm (1/8 - 1/4 in.) |
-

MXAL42801-UN-09APR13
Remove access panel and adjust mower level, if necessary,
by loosening front nut (F) on front lift rod. Turn rear nut (G) clockwise
to raise front of mower or counterclockwise to lower it. Tighten front
nut after adjustment is complete.
NOTE: Verify that deck will latch in transport position. If
it does not latch, turn both rear adjusting nuts counter-clockwise
equally to lower rear of deck until deck latch will engage. Check
front lift rod adjustment, adjust if necessary.
|
|
TH84124,00000B1-19-20140421
|
|