Adjusting Mower Level Using Deck Leveling - Method 2
CAUTION: Rotating blades are dangerous. Before adjusting or
servicing mower:
-
Disconnect spark plug wire(s) or battery negative (-) cable
to prevent engine from starting accidentally.
-
Always wear gloves when handling mower blades or working near
blades.
IMPORTANT: Mower deck lift system can be damaged if lift arms
are not adjusted correctly. Check adjustment each time mower is installed
to allow gap between mower deck up stops and frame at full lift height.
-
Park machine safely on a level surface. (See Parking Safely
in the SAFETY section).
-
Inflate tires to the correct pressure. (See Tire Pressures in
the SPECIFICATIONS section).
-
Raise mower deck to highest (transport) position by pulling
back on upper hydraulic lever.
-

MXT008660-UN-03OCT13
Tool box lid has been removed for clarity.
Remove the exact adjust wrench (A) stored in the tractor
tool box (B).
-
Raise gage wheels to highest setting.
-
Set the mower height control knob set at 2.5, then lower deck
against stop.
-
Raise gage wheels to highest setting.
Adjust Mower Level (Side-to-Side):
-
Turn left blade parallel to axle.
-
Hold drive belt and turn right blade parallel to axle.
-
NOTE: The difference between blade measurements must not be
more than 3.2 mm (.13 in.).

MXAL41824-UN-18FEB13
A convenient leveling gauge (A) is available from
your John Deere dealer.
Measure distance from each outside blade tip (B) to the level
surface.
-
NOTE: If an adjustment of more than 3.2 mm (.13 in.) is required,
adjust both points alternately. A large adjustment on one side can
move the other side in the opposite direction.

MXT010944-UN-11JUN14
48A, 54HC, and 60HC decks. Left hand side shown.
Raise or lower either side of deck until outside blade tips
are within specified distance from level surface, and within 3.2 mm
(.13 in.) vertical height of each other:
| Item | Measurement | Specification |
|
Outside Blade Vertical Height Tips (Right-to-Left) | Distance | 6.35—7.62 cm (2.5—2.75 in.) |
-
Insert exact adjust wrench (C) into adjustment nut (D) above
draft arm.
-
Turn wrench clockwise to raise lift arm.
-
Turn wrench counterclockwise to lower lift arm.
-
NOTE: If an adjustment of more than 3.2 mm (.13 in.) is required,
adjust both points alternately. A large adjustment on one side can
move the other side in the opposite direction.
Repeat adjustment as necessary (Confirm gauge (A) just slips
under deck on both sides).
Adjust Mower Level (Front-to-Back):
-
Turn left blade so tip points straight forward.
-
Measure distance between the front blade tip to the level surface.
-

MXT008649-UN-29AUG13
Raise or lower the front of the deck as necessary until the
gage to the tip of the blade measures 3.2 mm (.13 in.) less than the
side to side blade tip measurement.
-
Loosen two rear nuts (B) on front deck hanger.
-
Turn two front nuts (C) clockwise to raise front of mower deck;
turn counterclockwise to lower front of mower deck.
-
Once front of deck is at desired height, verify there is no
gap at location (D) on both right and left side.
-
Tighten rear nuts after making adjustment. Once again verify
no gap was created after tightening rear nuts.
-
Raise deck and turn height control knob to the lowest setting.
Lower deck to ground and remove front draft hanger bracket. Confirm
the deck is firmly sitting on the ground at front and back of deck.
-
If deck is not resting on the ground, install the front draft
hanger bracket and raise the deck two or three inches off the ground.
Using the exact adjust wrench, lower the right and left side one turn.
Lower the deck, remove front draft hanger bracket and reconfirm deck
rests firmly on the ground.
-

MXT008658-UN-03OCT13
Old

MXT015033-UN-01JUL15
New
Check mower deck draft arm latch (E) and make sure it will
release mower deck without too much force. If deck does not rest
on ground pressure will not allow latch to release.
NOTE: 1 full turn with exact adjust wrench is approximately
3.2 mm (.13 in.) on mower deck.
-
Install front draft hanger, fully raise mower, and adjust height
control knob to desired height.
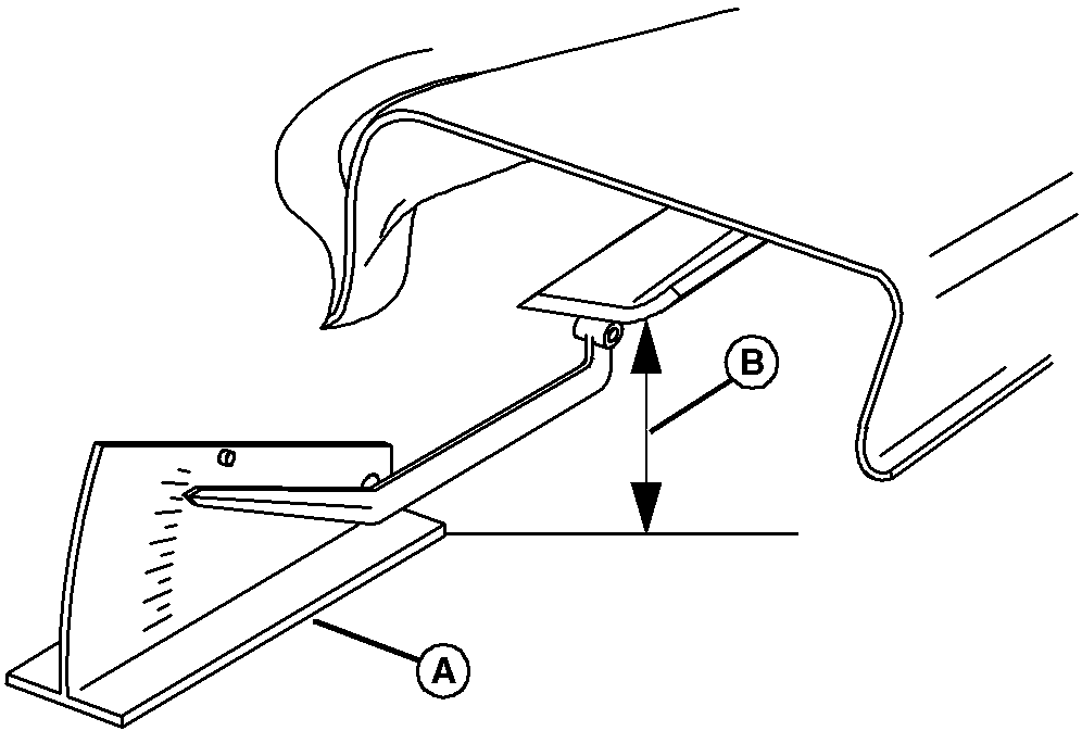
-
With mower deck in its fully raised position, verify:
-
If no gap exists, lower the mower deck slightly to remove tension
in the system. Use the exact adjust wrench (H) to equally lower the
right and left side of the mower deck. Repeat until there is approximately
6.4 mm (.25 in) gap.
-
Return the exact adjust wrench to its storage location.
-
Adjust mower height control knob to desired cutting height.
-
Lower mower deck.
-
Adjust gage wheels so they clear the ground by 6.4 mm (.25 in.)
to 12.7 mm (.5 in.).
|
|
OUO2004,0000C38-19-20150708
|
|