Adjusting Skid Shoes
Before using attachment on gravel or rough surfaces, mount
both skid shoes at lowest position. (A negative clearance means that
the shoe is mounted above the blade.)
|
Skid Shoe Mounting
|
|
Position
|
Blade Clearance
|
|
A
|
-10 mm
|
-3/8 in.
|
|
B
|
12 mm
|
1/2 in.
|
|
C
|
25 mm
|
1 in.
|
|
D
|
45 mm
|
1-3/4 in.
|
|
*The optional heavy-duty flat scraper blade would allow for
10 mm (3/8 in.) additional clearance.
|
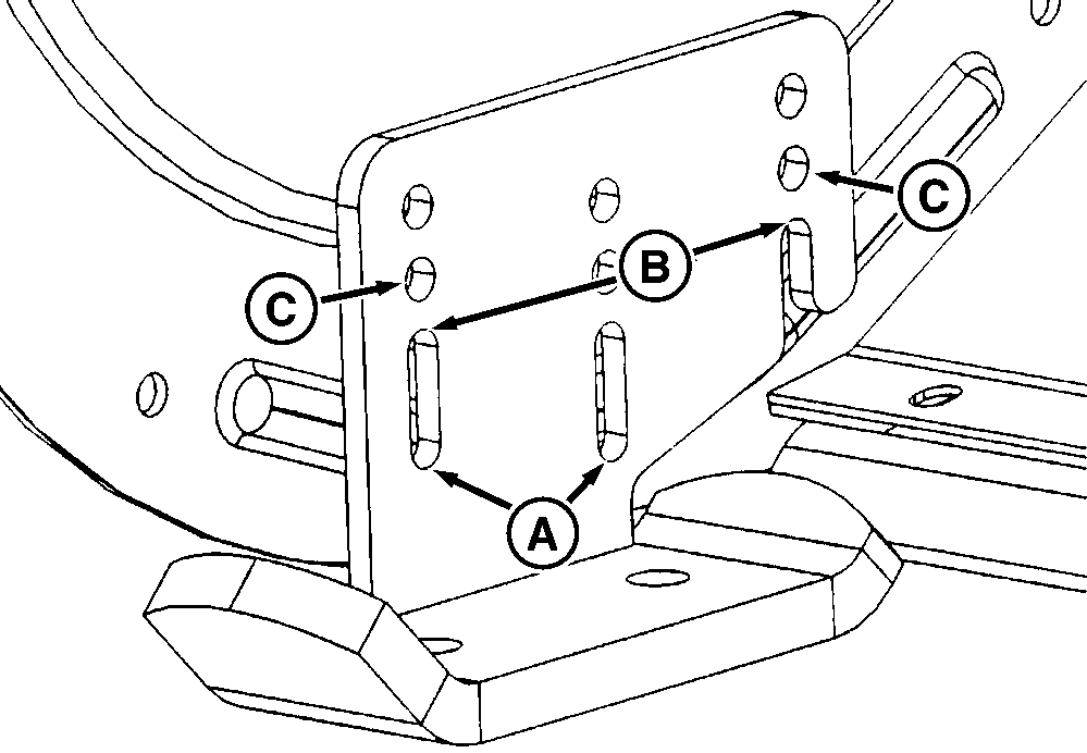
Use position A or B with skid shoe mounted inside only. Use position C with skid shoe mounted either inside or outside.
Use position D with skid shoe mounted outside only.

MXT013824-UN-24MAR15
Picture Note: Skid shoe mounted on inside. Use
position A, B, or C.

MXT013825-UN-24MAR15
Picture Note: Skid shoe mounted on outside. Use
position C or D.
To clear snow from a smooth surface
-
Lower attachment to the ground.
-
Remove cap screws and locknuts on each skid shoe.
-
Insert cap screws to position A or B.
-
Tighten locknuts.
To clear snow from gravel or rough surface
-
Lower attachment to the ground.
-
Remove cap screws and locknuts on each skid shoe.
-
Insert cap screws in position C or D.
-
Tighten locknuts.
|
|
MX52301,0000A1C-19-20150506
|
|