Replacing Discharge Chute Cables
Replacing Right Cable
-
Avoid damage! Hydraulic cylinder plunger must be
in the retracted position (all the way in the cylinder) when beginning
this procedure.
For ease of assembly and proper cable routing, replace
one cable at a time. Route right cable around attachment first.
Rotate discharge chute to the right (as viewed from seat) to
retract hydraulic cylinder plunger.
-

MXT013834-UN-24MAR15
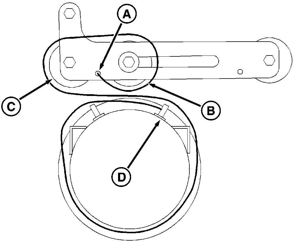
Standing at rear of attachment, insert cable through hole
(A).
-
Wrap cable around middle pulley (B), and around right pulley
(C).
-
Wrap cable counterclockwise around discharge chute and place
it around threaded stud, behind washer and locknut (D).
Replacing Left Cable
-
Avoid damage! Hydraulic cylinder plunger must be
in the retracted position (all the way in the cylinder) when beginning
this procedure.
For ease of assembly and proper cable routing, replace
one cable at a time. Route right cable around snowblower first, then
rout left cable.
Rotate discharge chute to the right (as viewed from seat) to
retract hydraulic cylinder plunger.
-

MXT013835-UN-06MAY15
Standing at rear of attachment, insert cable through hole
(A).
-
Wrap cable around middle pulley (B), and round left pulley (C).
-
Wrap cable clockwise around discharge chute and place it around
threaded stud, behind washer and locknut (D).

MXT013836-UN-06MAY15
Cover Assembly
-
Avoid damage! Make sure you install the long cap
screws through the black cable shield and bracket.

MXT013831-UN-24MAR15
Install cable shield (A) and angle bracket and fasten with
four cap screws (B) and locknuts.
-
Tighten locknuts.
|
|
MX52301,0000A25-19-20150526
|
|