Adjusting Mower Level
-
CAUTION: Rotating blades are dangerous. Before adjusting or
servicing mower: • Disconnect spark plug wire(s)
or battery negative (-) cable to prevent engine from starting accidently.
• Always wear gloves when handling mower blades or working
near blades.
NOTE: Mower wheels should not contact the ground when leveling
the deck.
Park machine safely. (See Parking Safely in the SAFETY section.)
-
Inflate tires to the correct pressure.
-
Position caster wheels to the forward driving position.
-
Set mower to preferred cutting height, and lower deck into the
mowing position.
-
Measure mower level (side-to-side).
-

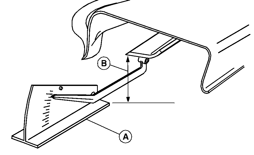
MXAL42797-UN-09APR13
A convenient leveling gauge (A) (AM130907) is available
from your dealer.
Position mower blades as follows and measure from each outside
blade tip (B) to the level surface.
-

MXAL42798-UN-09APR13
Turn left blade (C) as shown. Hold and turn right blade (D)
as shown. Take measurement for both blades.
The difference between blade measurements must not be more than
3 mm (1/8 in.).
-

MXAL47050-UN-16APR13
Adjust mower level,
if necessary, by turning rear nuts (E) clockwise to raise the side
of the mower deck, or counterclockwise to lower the mower deck.
NOTE: Ensure bottom of lock nut is fully engaged on threaded
fitting to avoid hardware from loosening during operation.
-
Measure mower level (front-to-rear).
-

MXAL42800-UN-09APR13
Turn right blade (D) so blade tip points straight forward.
-
Measure from blade tip to the surface. Take measurement for
both blades. The front blade tip must be 3 - 6 mm (1/8 - 1/4 in.)
lower than rear blade tip.
-

MXAL47052-UN-16APR13
48 in. deck shown.
48C mower decks: Adjust mower level, if necessary, by loosening
rear nuts (E) on front lift rod. Turn front nuts (F) clockwise to
raise front of mower or counterclockwise to lower it. Make sure front
lift rod (G) contacts mower deck bracket on both sides (H) to maximize
stability of deck. Tighten rear nut after adjustment is complete.
-

MXAL47053-UN-16APR13
48HC mower decks: Adjust mower level, if necessary, by loosening
lower nut (I) on both sides of deck. Turn top nut (J) on each side
of deck clockwise to raise front of mower or counterclockwise to lower
front of mower. Tighten lower nuts after adjustment is complete.
NOTE: Verify that deck will latch in transport position. If
it does not latch, turn both rear adjusting nuts counter-clockwise
equally to lower rear of deck until deck latch will engage. Check
front lift rod adjustment, adjust if necessary.
|
|
TH84124,00000D4-19-20140423
|
|