Lubricating Mower Deck Spindles
-
NOTE: Removal of belt shields is not necessary to lubricate
the spindles.
Remove rubber mat and mower deck foot plate.
-

MXT005380-UN-01AUG13
Remove six screws (A) and the center deck shields (B).
-
Lubricate the mower deck spindles, as indicated.
48C Mower Decks
-

MXT005381-UN-01AUG13
Lubricate three mower deck spindle grease fittings (C) with
two pumps of grease at specified interval.
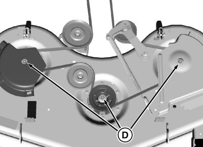
48HC Mower Deck
-

MXT010744-UN-23APR14
Lubricate three mower deck spindle grease fittings (D) with
two pumps of grease at specified interval.
|
|
TH84124,00000D7-19-20140423
|
|