Replacing Drive Belt
-
Remove snowblower from machine. See “Removing Snowblower”
from “Removing and Storage” section.
-
Rest snowblower frame on the ground.
Replace Primary Drive Belt
-

MXT015236-UN-17JUL15
A - Nut
B - Belt Guard
C - Bolts, Belt Guard
D - Sheave, Primary Drive
E - Belt, Primary Drive
Remove nut (A) and sheave from tensioning arm.
-
Remove two retaining nuts and belt guard bolts (C) at primary
drive sheave (D).
-
Remove primary drive belt (E).
-
Install new belt.
-
Install belt guards and hardware removed earlier.
-

MXT015962-UN-25SEP15
F - Bracket, PTO Cable
The PTO cable bracket (F) on manual PTO models may require
adjustment to achieve proper belt tension. After snow blower installation
is complete check to make sure that the snow blower stops rotating
when the PTO lever is moved to the disengaged position and starts
rotating when the PTO lever is moved to the engaged position. To decrease
belt tension, move the bracket inward, toward the frame. To increase
belt tension, move the bracket outward, away from the frame to increase
belt tension.
Replace Secondary Drive Belt
-

MXT015237-UN-16JUL15
A - Nut
B - Belt Guide
C - Secondary Belt Tensioning Spring
De-tension secondary belt by removing secondary belt tensioning
spring (C).
-
Remove nut (A) and belt guide (B) from sheave assembly.
-

MXT015238-UN-16JUL15
D - Bolt
E - Nut
Remove two retaining bolts (D) and nuts (E) at secondary
drive sheave.
-

MXT015239-UN-06AUG15
F - Nut
G - Belt Guide
H - Idler Sheave
Remove nut (F) and belt guide (G) from idler sheave (H).
-
Repeat for other side.
-
Remove secondary drive belt from tensioning sheave.
-

MXT015240-UN-16JUL15
I - Nut
J - Belt Guard Bracket
Loosen, do not remove, two nuts (I) that retain belt guard
bracket (J) to snowblower housing. Remove belt guard bracket, which
is slotted for easy removal and installation.
-

MXT015241-UN-16JUL15
K - Secondary Belt
L - Nut
M - Bearing, Auger Shaft
N - Nut
Remove two nuts (L) and auger shaft bearing (M) from gearbox
plate.
-
Remove four nuts (N) and carriage bolts that retain the gearbox
plate to the snowblower housing. Remove gearbox plate.
-
Remove old secondary belt (K) and begin installing new one.
Make sure that twist in belt is correct when routing from the front
sheave past the side idler sheaves.
-
Install gearbox plate and secure with hardware removed earlier.
-
Install auger shaft bearing and secure with hardware removed
earlier.
-

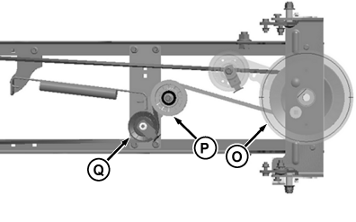
MXT015242-UN-16JUL15
O - Secondary Drive Sheave
P - Tensioning Sheave
Q - Idler Sheave
Route belt around secondary drive sheave (O), around outside
of tensioning sheave (P), and around outside of idler sheave (Q)
NOTE: Check that belt is not twisted between secondary drive
sheave (O), tensioning sheave (P), and idler sheave (Q).
NOTE: Check that twist in belt is correct between front left
idler sheave and idler sheave (Q).
NOTE: Check that twist in belt is correct between front right
idler sheave and secondary drive sheave (O).
-

MXT015270-UN-06AUG15
R - Belt Guard Bracket
S - Retaining Nut
Install belt guard bracket (R) and tighten retaining nuts
(S) to secure.
-
Install belt guard on front left idler pulley, with locating
tab in belt guard inserted in small hole in snowblower housing. Secure
with nut, removed earlier.
-
Repeat for other side
-
Install two retaining nuts and belt guard bolts at secondary
drive sheave that were removed earlier.
-
Install belt retainer and nut removed earlier to idler sheave
(Q).
-
Install secondary belt tensioning spring that was removed earlier.
|
|
OUO2004,0000D0A-19-20150925
|
|