Checking and Adjusting Mower Deck Level
CAUTION: Avoid Injury! Rotating blades are dangerous. Before
adjusting or servicing mower:
-
Disconnect spark plug wire(s) or battery negative (-) cable
to prevent engine from starting accidently.
-
Always wear gloves when handling mower blades or working near
blades.
NOTE: Mower wheels should not contact the ground when leveling
the deck.
-
Make sure that machine is on a flat, level surface.
-
Park machine safely on a flat surface. (See Parking Safely in
the SAFETY section).
-
Inflate tires to the correct pressure:
| Item | Measurement | Specification |
|
Front Tire | Pressure | 97 kPa (14 psi) |
|
Rear Tire | Pressure | 69 kPa (10 psi) |
Quick Leveling Method
-

MXT014250-UN-27MAY15
The label for the cutting height knob is located on the console
of the machine. This label shows deck leveling position (A) and location
of deck leveling adjustment points (B). The location of adjustment
points will vary slightly between decks:
-
Adjustment point 1 is located on the left rear deck rim.
-
Adjustment point 2 is located on the right rear deck rim.
-
Adjustment point 3 is located on the front deck hanger bracket.
-
Set mower cutting height knob (C) to the deck leveling position
and lower deck against stop.
Once adjusted at deck leveling position, the deck will be level
and calibrated for all cut height positions.
-
Adjust mower deck gauge wheels as necessary so they do not contact
the ground surface.
-

MXT014339-UN-12JUN15
Lift seat and remove the deck level wrench (A) and mower
deck level gauge (B).
-
Adjust mower deck side-to-side level:
-
NOTE: Adjustment points 1 and 2 on 42M mowers have a raised
marker (A) and 42A, 48A, and 54A mowers have a raised weld (B) for
side-to-side measurement.

MXT015731-UN-26OCT15
Left Photo 42M, Right Photo 42A, 48A, and 54A Mowers.
Use gauge (C) to check the height between the floor and deck
rim at adjustment points 1 and 2. The gauge should just slip under
the deck rim.
-

MXT014310-UN-28MAY15
Shields Removed for Clarity
If adjustments are necessary, first move seat to rear most
position, then insert provided deck level wrench (A) into top port
opening (B) on fender deck until end of wrench mates with adjustment
bolt (C).
-

MXT014311-UN-28MAY15
Shields Removed for Clarity
Rotate wrench (A) counterclockwise to lower or clockwise
to raise deck until gauge (B) just slips under adjustment point 1.
-
Repeat procedure on right side of deck for adjustment point
2.
-
NOTE: If an adjustment of more than 3 mm (1/8 in) is required,
adjust both points alternately. A large adjustment on one side can
move the other side in the opposite direction.
Repeat step b, c, and d, as necessary.
-
Adjust mower deck front-to-back level:
-
NOTE: Adjustment point 3 has a stamped “3” on side
of front deck hanger bracket (B).

MXT014342-UN-27MAY15
Shields Removed for Clarity
Use gauge (A) to check the height between the floor and front
deck hanger bracket (B) at adjustment point 3. The gauge should just
slip under the bracket.
-

MXT014343-UN-28MAY15
Shields Removed for Clarity
If necessary, use an 18 mm wrench to adjust the front of
the deck by loosening rear nut (A) equally on each side of front lift
rod. Turn front nut (B) equally on each side clockwise to raise front
of mower or counterclockwise to lower it until gauge just slips under
adjustment point 3. If draft rod is not tight against both draft hooks,
tighten loose side until both sides are tight against draft hooks.
Shake the deck slightly to ensure that it has settled into position.
Tighten rear nuts after adjustment is complete.
-
NOTE: Before storing gauge, verify that deck will latch in transport
position. If it does not latch, return to adjustment points 1 and
2 and turn both rear adjusting nuts counterclockwise equally to lower
rear of deck until deck latch will engage. Recheck adjustment point
3, and adjust if necessary.
Return gauge and deck leveling wrench to their storage position,
under seat.
Optional Leveling Method
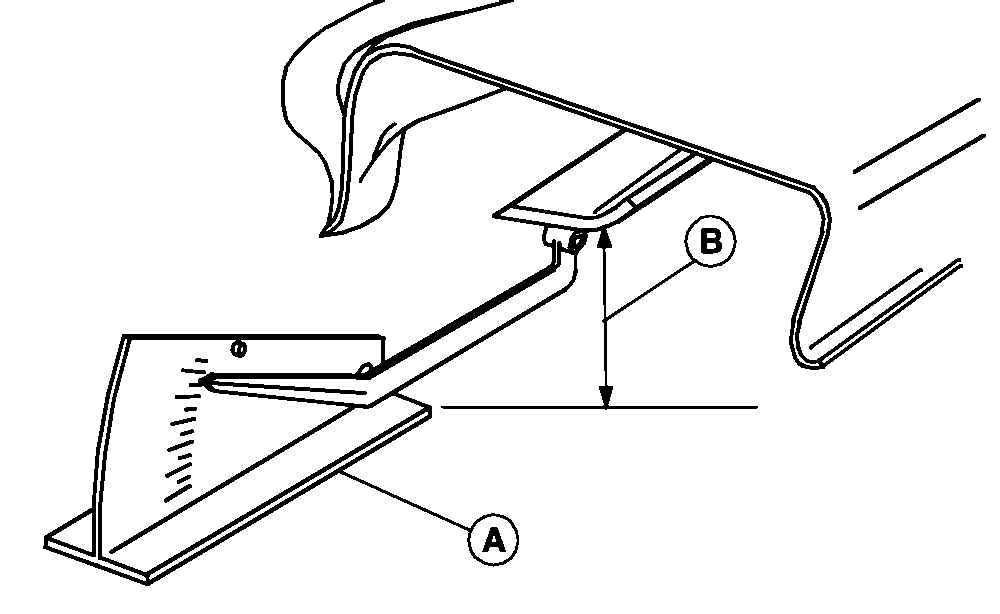
NOTE: An optional mower deck leveling gauge (AM130907) (A) is
available from your John Deere dealer. It allows for precision mower
deck leveling by measuring mower deck level at the blade tips.
-
Set mower deck cutting height knob to desired cutting height.
Lower deck.
-
Measure mower deck level (side-to-side).
-

GXAL41983-UN-04MAR13
Position mower blades as follows and measure from each outside
blade tip (B) to the level surface.
-

MXT014862-UN-12JUN15
Turn left blade (A) as shown. Hold drive belt and turn right
blade (B) as shown. Take measurement for both blades.
The difference between blade measurements must not be more than
specified distance.
| Item | Measurement | Specification |
|
Mower Deck Blade Outside Tips to Ground (Difference) | Distance | 3 mm (1/8 in) |
-

MXT014310-UN-28MAY15
Shields Removed for Clarity
If adjustments are necessary, first move seat to rear most
position, then insert provided deck level wrench (A) into top port
opening (B) on fender deck until end of wrench mates with adjustment
bolt (C).
-
Measure mower level (front-to-rear).
-

MXT014863-UN-12JUN15
Turn right blade (A) so blade tip points straight forward.
-
Measure from blade tip to the surface. Take measurement for
both blades.
The front blade tip must be specified distance lower than rear
blade tip.
| Item | Measurement | Specification |
|
Mower Deck Blade Outside Tips to Ground (Difference) | Distance | 3—6 mm (1/8—1/4
in) |
-

MXT014343-UN-28MAY15
Shields Removed for Clarity
If necessary, use an 18 mm wrench to adjust front of deck
by loosening rear nut (A) equally on each side of front lift rod.
Turn front nut (B) equally on each side clockwise to raise front of
mower or counterclockwise to lower it until gauge measures within
specified range. If draft rod is not tight against both draft hooks,
tighten loose side until both sides are tight against draft hooks.
Shake deck slightly to ensure that it has settled into position. Tighten
rear nuts after adjustment is complete.
-
NOTE: Before storing gauge, verify that deck will latch in transport
position. If it does not latch, return to side adjustment points and
turn both rear adjusting bolts counterclockwise equally to lower rear
of deck until deck latch will engage. Recheck front adjustment points,
and adjust if necessary.
Raise deck and return leveling wrench to its storage position,
under seat.
|
|
MX52301,0000A79-19-20150821
|
|