Adjust Mower Level Using Deck Leveling - Method 2
CAUTION: Avoid injury! Rotating blades are dangerous. Before
adjusting or servicing mower:
-
To prevent engine from starting accidentally disconnect spark
plug wire(s) or battery negative (-) cable.
-
Always wear gloves when handling mower blades or working near
blades.
IMPORTANT: Avoid damage! If lift arms are not adjusted correctly
mower deck lift system can be damaged. Check adjustment each time
mower is installed to allow gap between mower deck up stops and frame
at full lift height.
-
Park machine safely on a hard, level surface. (See Parking Safely.)
-
Inflate tires to correct pressure. (See Tire Pressures in SPECIFICATIONS
section of your Operator’s Manual.)
-
Raise mower deck to highest (transport) position by pulling
back on upper hydraulic lever.
-

MXT008660-UN-03OCT13
Tool box lid has been removed for clarity.
Remove exact adjust wrench (A) stored in tractor tool box
(B).
-
Raise gage wheels to highest setting.
-
Set mower height control knob set at 2.5, then lower deck against
stop.
Adjust Mower Level (Side-to-Side):
-
Turn left blade parallel to axle.
-
Hold drive belt and turn right blade parallel to axle.
-
NOTE: The difference between blade measurements must not be
more than 3 mm (1/8 in).

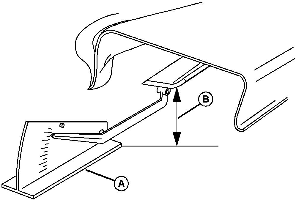
MXAL41824-UN-18FEB13
A convenient leveling gauge (A) is available from
your John Deere dealer.
Measure distance from each outside blade tip (B) to the level
surface.
-
NOTE: If an adjustment of more than 3 mm (1/8 in) is required,
adjust both points alternately. A large adjustment on one side can
move the other side in the opposite direction.

MXAL41825-UN-18FEB13
Left-hand side shown.
Raise or lower left or right sides of deck until outside
blade tips are within specified distance from level surface. Within
3 mm (1/8 in) vertical height of each other.
| Item | Measurement | Specification |
|
Outside Blade Vertical Height Tips (Right-to-Left) | Distance | 6.35—7.00 cm (2.5—2.75
in) |
-
Insert exact adjust wrench (C) into adjustment nut (D) above
draft arm.
-
Turn wrench clockwise to raise lift arm.
-
Turn wrench counterclockwise to lower lift arm.
-
NOTE: If an adjustment of more than 3 mm (1/8 in) is required,
adjust both points alternately. A large adjustment on one side can
move the other side in the opposite direction.
Repeat adjustment as necessary (Confirm gauge (A) just slips
under deck on both sides).
Adjust Mower Level (Front-to-Back):
-
Turn left blade so tip points straight forward.
-
Measure distance between the front blade tip to the level surface.
-

MXT017706-UN-18FEB16
Raise or lower front of deck as necessary. Ensure gage to
tip of blade measures 3 mm (1/8 in) less than side to side blade tip
measurement.
-
Loosen two rear nuts (A) on front deck hanger.
-
Turn two front nuts (B) clockwise to raise front of mower deck;
turn counterclockwise to lower front of mower deck.
-
Once front of deck is at desired height, verify that there is
no gap at location (C) on both right and left side.
-
Tighten rear nuts after adjusting. Once again verify that no
gap was created after tightening rear nuts.
-
Raise deck and turn height control knob to the lowest setting.
Lower deck to ground and remove front draft hanger bracket. Confirm
that the deck is firmly sitting on the ground at front and back of
deck.
-
If deck is not resting on the ground, install the front draft
hanger bracket and raise the deck 2-3 inches off the ground. Using
the exact adjust wrench, lower the right and left side one turn. Lower
the deck, remove front draft hanger bracket and reconfirm deck rests
firmly on the ground.
-

MXT017382-UN-26APR16
Check mower deck draft arm latch (D) and make sure that it
releases mower deck without too much force. If deck does not rest
on ground, pressure will not allow latch to release.
NOTE: One full turn with exact adjust wrench is approximately
3 mm (1/8 in) on mower deck.
-
Install front draft hanger, fully raise mower, and adjust height
control knob to desired height.
-
With mower deck in its fully raised position, verify:
-

MXT017383-UN-18FEB16

MXT017384-UN-18FEB16
Deck up-stop (E) and frame (F) have a gap.
-
If no gap exists, lower mower deck slightly to remove tension
in system. Use exact adjust wrench (G) to equally lower right and
left side of mower deck. Repeat until there is approximately 6.4 mm
(1/4 in) gap.
-
Return the exact adjust wrench to its storage location.
-
Adjust mower height control knob to desired cutting height.
-
Lower mower deck.
-
Adjust gage wheels so they clear the ground by 3 mm (1/8 in)
to 13 mm (1/2 in).
|
|
MX52301,0001008-19-20160804
|
|