In order to set front wheel toe-in suspension and steering components
must be in good condition. All fasteners must be tightened to specification.
-
Park the machine safely. (See Parking Safely in SAFETY.)
-
Turn steering wheel so that front tires are in straight-ahead
position.
-
Check tire pressure. Adjust to specification if needed.
-

MXAL47395-UN-16APR13
Measure front wheel hub center height (A) from surface.
-
Mark tread center line (B) and hub center height at front and
back of both front tires.
-

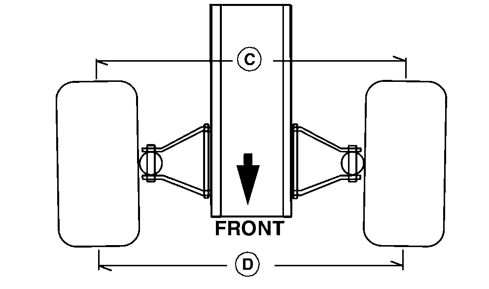
MXAL47396-UN-16APR13
Measure distance (C) between tread centerlines at rear of
tires at hub height.
-
Measure distance (D) between tread center lines at front of
tires at hub height.
-
Subtract front measurement from rear measurement to determine
toe-in.
-
Adjust toe-in if not within specification.
| Item | Measurement | Specification |
|
Toe-in | Length | 6 mm (0.24 in.) |
NOTE: If the tie rod boot clamp is too tight, the steering rack
rubber boot turns with the tie rod. Loosen the boot clamp enough allowing
the rubber boot to remain stationary when the tie rod is turned.

MXAL47397-UN-16APR13
Left side shown.
-
Loosen M12 jam nuts (E) on left and right tie rod.
-
Rotate tie rod by placing 14 mm wrench on flats (F).
-
Loosen boot clamps (G) if necessary to prevent boot rotation
with tie rod adjustment.
-
Adjust left and right tie rods equally until toe-in is within
specification.
-
Tighten jam nuts to specification.
| Item | Measurement | Specification |
|
Tie Rod Jam Nuts | Torque | 54N·m (40 lb.-ft.) |
.
-
Check that front tires do not contact suspension when turned
fully left or right.