Checking and Adjusting Toe-In
In order to accurately set front wheel toe-in, suspension and
steering components must be in good condition. All fasteners must
be tightened to specification.
-
Park machine safely. (See Parking Safely in the SAFETY section.)
-
Turn steering wheel so that front tires are in straight-ahead
position.
-
Check tire pressure. Adjust to specification if needed (see
SPECIFICATIONS).
-

MXAL44296-UN-10APR13
Measure front wheel hub center height (A) from surface.
-
Mark tread centerline (B) and hub center height at front and
back of both front tires.
-

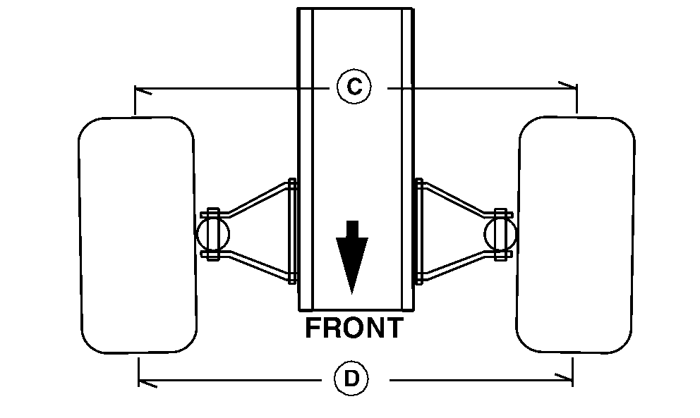
MXAL44297-UN-10APR13
Measure distance (C) between tread centerlines at rear of
tires at hub height.
-
Measure distance (D) between tread centerlines at front of tires
at hub height.
-
Subtract front measurement from rear measurement to determine
toe-in.
-
Adjust toe-in if not within specification:
| Item | Measurement | Specification |
|
Tire Centerline | Distance | 4±3 mm (0.16±0.12 in.) |
NOTE: The steering rack rubber boot may turn with the tie rod
if the tie rod boot clamp is too tight. If this happens, loosen the
boot clamp enough to allow the rubber boot to remain stationary when
the tie rod is turned.
-

MXAL44298-UN-10APR13
Left side shown.
Loosen M12 jam nuts (E) on left and right tie rod.
-
Rotate tie rod by placing wrench on hex (F).
-
Loosen boot clamps (G) if necessary to prevent boot rotation
with tie rod adjustment.
-
Adjust left and right tie rods equally until toe-in is within
specification.
-
Tighten jam nuts to specification.
| Item | Measurement | Specification |
|
Jam Nuts | Torque | 95 N·m (70 lb-ft) |
-
Check that front tires do not contact suspension when turned
fully left or right.
|
|
MP47322,00F48A3-19-20130404
|
|