Removing Snowblower
-
Park machine safely. (See Parking Safely in Safety section.).
-
Disengage lift lock, and lower snowblower to the ground.
-
Tilt hood forward.
-

MXT007226-UN-15MAY13
Spout control cable not shown.
A - Chute and Spout Bracket
B - Carriage Bolt, M6x45
Remove M6 wingnut, M6.4 flat washer, and M6 serrated lockwasher
that secure carriage bolt (A) under console. Lift chute and discharge
spout bracket (B) and carriage bolt from console, and install hardware
back onto carriage bolt for storage.
NOTE: Chute and discharge spout bracket, with chute rod and
discharge spout cable assembled, can be stored with snowblower without
disconnection.
-
Pivot assembled chute rod, discharge spout cable and bracket
and lower to the ground. Do not disconnect any components from the
bracket, or from the snowblower.
-
Lower hood.
-

MXT014395-UN-15JUL15
C - Locking Cotter Pin
D - Washer, M10x30 OD
E - Lift Rod
F - Lift Link
G - Front Mounting Plate
Disconnect and remove lift rod:
-
Remove locking cotter pin (C) and washer (D) securing lift rod
(E) at each side of the machine. To disengage lift link (F) from front
mounting plate (G), remove lift rod from lift arm and pivot assembly.
-
Replace adjustable lift rod/link assemblies on the lift arms,
and secure with hardware removed earlier for storage.
-

MXT007228-UN-15MAY13
H - Primary Drive Belt
I - Drive Sheave
J - Spring Locking Pin
K - Drilled Pin
L - Latch
Remove primary drive belt (H) from machine drive sheave (I).
-
To expose the hanger slot, remove spring locking pin (J) and
drilled pin (K) at each hanger bracket, and rotate latch (L) to the
rear.
-
Pull the snowblower forward. The hanger brackets disengage from
the hanger bushings on the rear mounting plates, and the snowblower
frame drops to the ground.
-

MXT007229-UN-17MAY13
M - Latch
N - Drilled Pin
O - Spring Locking Pin
Rotate the latch (M) at each side of the machine, forward
to the closed position. Install the drilled pin (N) and spring locking
pin (O) removed earlier for storage.
-

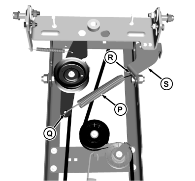
MXT015559-UN-27AUG15
Machines With Mechanical PTO Only
P - Spring
Q - Tensioning Arm Hole
R - Spring Locking Pin
S - Cable Bracket
With frame on the ground, disconnect PTO cable (machines
with mechanical PTO only).
-
Remove cable spring (P) from hole (Q) in tensioning arm.
-
Remove spring locking pin (R) that secures cable in bracket.
-
Remove PTO cable from cable bracket (S).
-
Slide snowblower from under machine for cleaning and storage.
CAUTION: Avoid injury! When the attachment is removed, also
remove any ballast that was added to the machine. Use
only attachments and accessories recommended by the manufacturer.
-
Remove any weights that were installed when preparing machine.
|
|
OUO2004,0000C8C-19-20150821
|
|