Battery Position and Connection Diagram
Help prevent serious injury or death from an electrical
shock or electrocution. This utility vehicle is equipped with a 48
volt electrical system which is capable of passing high voltage electrical
current. Always use extreme caution when servicing the battery set
in this vehicle. Help prevent serious injury or death.
Failure to properly connect battery wiring could cause batteries to
short circuit and/or spark(s) that could cause an explosion.

MXAL47812-UN-12APR13
-
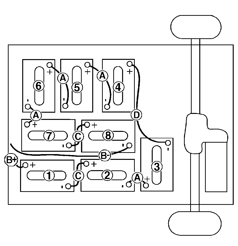
A battery position and connection safety/diagram label (A) is
attached to the front of the vehicle cargo box. Always refer to the
battery position/connection diagram:
-
Before and during battery installation.
-
When making electrical connections.
-
Always replace batteries in the same numbered position and orientation
as shown in the battery/position connection diagram.
-
Battery cables that are of the same length and labeled
the same can be interchanged.
Always replace battery cables in the same position and orientation
as shown in the battery/position connection diagram. Battery cables
are of specific length for each connection. Battery cables are labeled
to assist with proper installation when removed.
-

MXAL47813-UN-12APR13
Battery cables labeled “A” (4 cables)
-
Battery pack POSITIVE cable labeled “B+” (1 cable and 1 wire)
-
Battery pack NEGATIVE cable labeled “B-” (1 cable and 2 wires)
-
Battery cables labeled “C” (2 cables)
-
Battery cable labeled “D” (1 cable)
-
Battery connections are marked:
-
Always verify that the RED boots covering the battery terminal
and wire terminal are on the battery POSITIVE (+) terminal.
-
Always verify that the BLACK boots covering the battery terminal
and wire terminal are on the battery NEGATIVE (-) terminal.
|
|
OUO1023,000098F-19-20130529
|
|