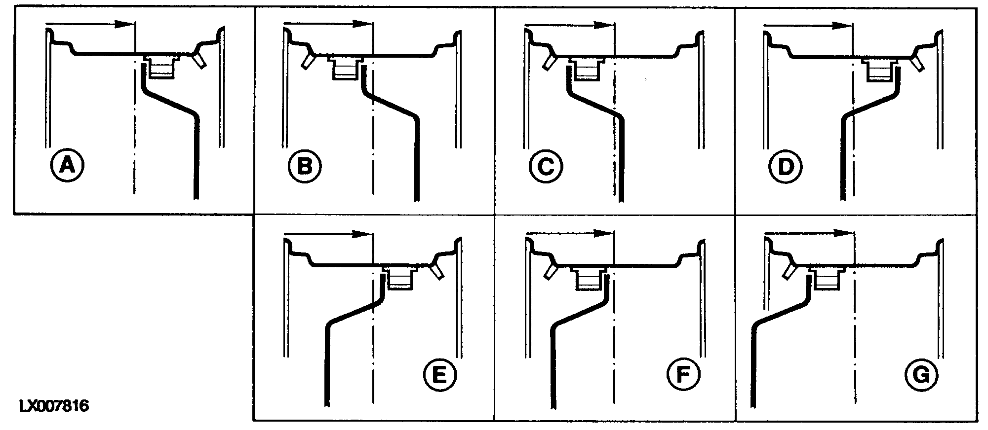
Ajuste del ancho de vía delantero con llantas reversibles

LX007816

El ancho de vía delantero puede reajustarse cambiando o invirtiendo las llantas.

IMPORTANTE: Las tuercas deben colocarse en la parte exterior de la rueda.

La rueda completa puede ser invertida e instalada en el lado opuesto del tractor. La flecha en el flanco del neumático señala el sentido de avance.

NOTA: El ancho de vía de los tractores equipados con pala frontal no debe ser superior a los 1,80 m (71").

Ancho de vía
A 1541 mm (5.1 ft)
B 1616 mm (5.3 ft)
C 1734 mm (5.7 ft)
D 1843 mm (6.1 ft)
E 1961 mm (6.4 ft)
F 2036 mm (6.7 ft)
G 2154 mm (7.1 ft)

 

NOTA: Para los neumáticos 14.9x24, 14.9x26 y 16.9x24 NO ES RECOMENDABLE variar los anchos de vía.

ML70882,0000490 -63-08NOV04-1/1