Ajuste de los guardabarros

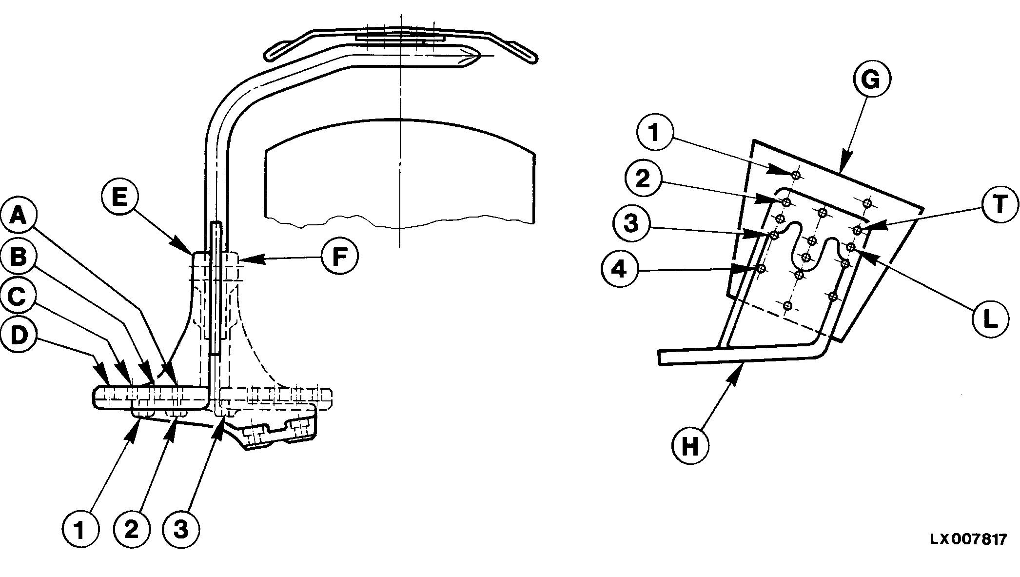
LX007817

Se muestran ruedas delanteras


E-Escuadra exterior
F-Escuadra interior
G-Guardabarros
H-Soporte

Los guardabarros deben ser instalados en función de las dimensiones del neumático y del ancho de vía del tractor. Seleccionar los neumáticos y ancho de vía adecuados y determinar en la tabla la posición correcta del guardabarros (ver "Posiciones de los guardabarros" en esta Sección).

Explicación de las posiciones

D-3 -Indica qué agujeros (1, 2, o 3 y A, B, C o D) quedan unidos por tornillos.

DENTRO - indica si el soporte está instalado en la parte INTERIOR o EXTERIOR. Al invertir la posición del soporte, es necesario instalar el soporte del lado izquierdo en el lado derecho y viceversa.

L/3 -Indica si se utilizan los agujeros superiores (T) o inferiores (L) del soporte y los agujeros correspondientes (1, 2, 3 o 4) del guardabarros.

Posición del guardabarros -Esta línea indica la posición del guardabarros en el eje de tracción delantera, p.ej. D-3 HACIA ADENTRO.

LX008632

ML70882,00007A1 -63-16FEB06-1/2


Altura del guardabarros -Esta línea indica la altura del guardabarros, p.ej. INFERIOR/3.

Ancho del guardabarros -Indica el espacio aproximado, p.ej. 400 mm (15.7 in.), para los neumáticos empleados.

Ver la tabla a continuación para determinar la posición del guardabarros.

Para la tabla de los anchos de vía, consultar las páginas correspondientes (posición de llantas y discos de rueda).

ML70882,00007A1 -63-16FEB06-2/2