Changing Combination Box Partition to Grain Only Position

1. Remove cap screw (A) and nut from connecting strap and bulkhead in front box compartment. Loosen cap screw (B) and nut on bottom of strap. Let strap drop.


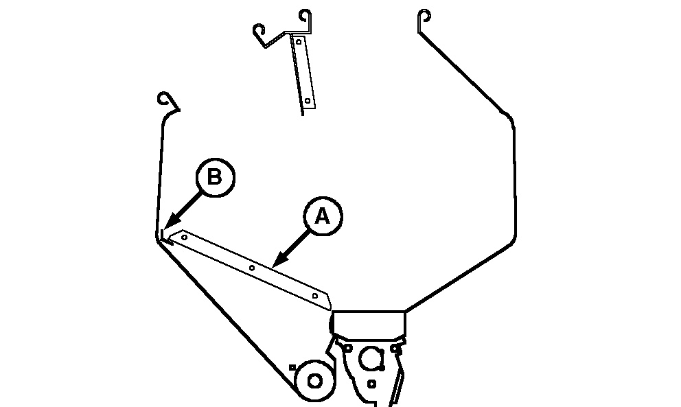
A-Cap Screw
B-Cap Screw

N50080S

AG,OUO1074,445 -19-22FEB00-1/7


2. Remove cap screws (A) and nuts from center bulkhead and angles.


A-Cap Screws

N50080T

AG,OUO1074,445 -19-22FEB00-2/7


3. Remove cap screws (A) from angle and end panel on each end of box.


A-Cap Screws

N50080U

Front Box

AG,OUO1074,445 -19-22FEB00-3/7


4. Remove cap screws from top deflector panel (A) and divider panel (B).


A-Deflector Panel
B-Divider Panel

N50080V

Rear Box

AG,OUO1074,445 -19-22FEB00-4/7


5. Remove three cap screws (A) from each end panel.


A-Cap Screws

N50080W

Rear Box

AG,OUO1074,445 -19-22FEB00-5/7


6. Position divider panel (A) to the rear and down until it rests on rear sheet support angle (B).

NOTE: Be sure additional three cap screws are installed in each end panel.

7. Install all hardware into end panels, center bulkhead (C) and divider panel (D).


A-Divider Panel
B-Support Angle
C-Center Bulkhead
D-Divider Panel

N50150
N50080X

AG,OUO1074,445 -19-22FEB00-6/7


8. Raise center brace and attach with existing hardware in hole (A), then tighten cap screw on lower end.

9. Tighten all hardware. Perform steps 1-8 in reverse order to reset partition to 60 percent grain and 40 percent fertilizer position.


A-Hole

N89158O

AG,OUO1074,445 -19-22FEB00-7/7