Inspecting Boots and Disk Openers

Poor opener penetration may be a result of worn disk openers. Uneven seed depth may be a result of worn boots.

AG,OUO1074,564 -19-22FEB00-1/2


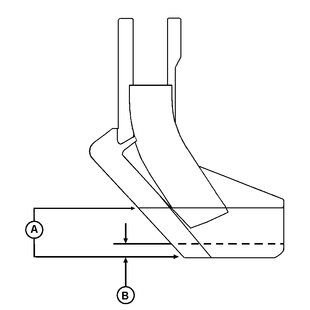
Lower seed boot measures 80 mm (3.15 in.) (A) from top to bottom. Measure lower boot and replace if worn 12.7 mm (0.5 in.) (B) or more, and height is 67 mm (2.64 in.) or less.

Repositioning seed boot may extend service life. Refer to POSITIONING SEED BOOTS in Preparing The Machine section.

Diameter of new disk opener is 457 mm (18 in.). Replace disk opener when uneven seeding depth due to poor penetration occurs or if disk opener diameter is less than specification .

Specification

Disk Opener -Diameter  406 mm (16 in.)
See REPLACING DISK OPENERS AND BEARINGS in this section for disk replacement.

N49837


A-Dimension, 80 mm (3.15 in.)
B-Dimension, 12.7 mm (0.5 in.)

AG,OUO1074,564 -19-22FEB00-2/2