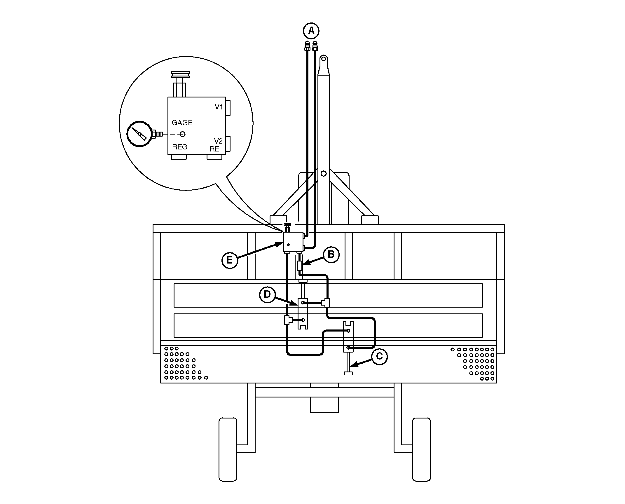
Down-Pressure Hose Routing

N47228


A-To Tractor SCV
B-Hydraulic Lock-Up Valve


C-Rear Rank Opener Down-Pressure Cylinder


D-Front Rank Opener Down-Pressure Cylinder


E-Active Down-Pressure Control Valve

OUO6074,000017A -19-08JAN01-1/1