Unfolding, Leveling, and Folding Coil-Tine Harrow

1. UNFOLDING

a. Unfold machine.

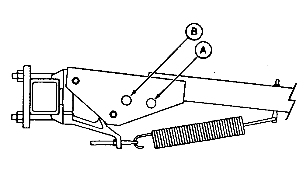
b. Rigid Horizontal and Low Transport Machines with Drawbars Located on Horizontally Folded Wings -Move pin from fold position (B) to storage position (A).


A-Storage Position
B-Fold Position

N42126AM

NX,980J,A26 -19-09APR98-1/3


causym CAUTION: Harrow sections move rapidly once rotated over center. Stand clear when rotating harrow sections to avoid injury. Wear protective clothing, eye protection, and gloves when working around harrow.

c. All Machines -Remove L-pins (B) from drawbars and rotate harrow sections (A) into working position.

2. LEVELING

a. Install L-pins in leveling holes so tine channels are parallel to ground. Retain pins with quick-lock pins.

b. To increase harrow depth, move attaching hardware (C) to top holes at pivot connections.

NOTE: Harrow depth can also be adjusted by repositioning steel donuts in drawbar brackets. Place donuts in forward position for shallow depth or in rear position for deeper depth.


A-Harrow Sections
B-L-Pins
C-Hardware

N45502

Folded Harrow

N45503

Working Position

NX,980J,A26 -19-09APR98-2/3


IMPORTANT: Machine damage may occur when folding horizontal wings without first moving pins to lock drawbars. If drawbars on horizontal wings are not locked before folding, harrow section is free to pivot and contact components on machine rear bar as wing folds.

3. FOLDING

a. Rigid Horizontal and Low Transport Machines with Drawbars Located on Horizontally Folded Wings -Move pin from storage position (A) to fold position (B) before folding wings.

b. All Machines -Remove L-pins and rotate harrow sections to drawbar tops.

Install L-pins through harrow and drawbar. Retain pins with quick-lock pins.

c. Fold machine.

N42126AM


A-Storage Position
B-Fold Position

NX,980J,A26 -19-09APR98-3/3