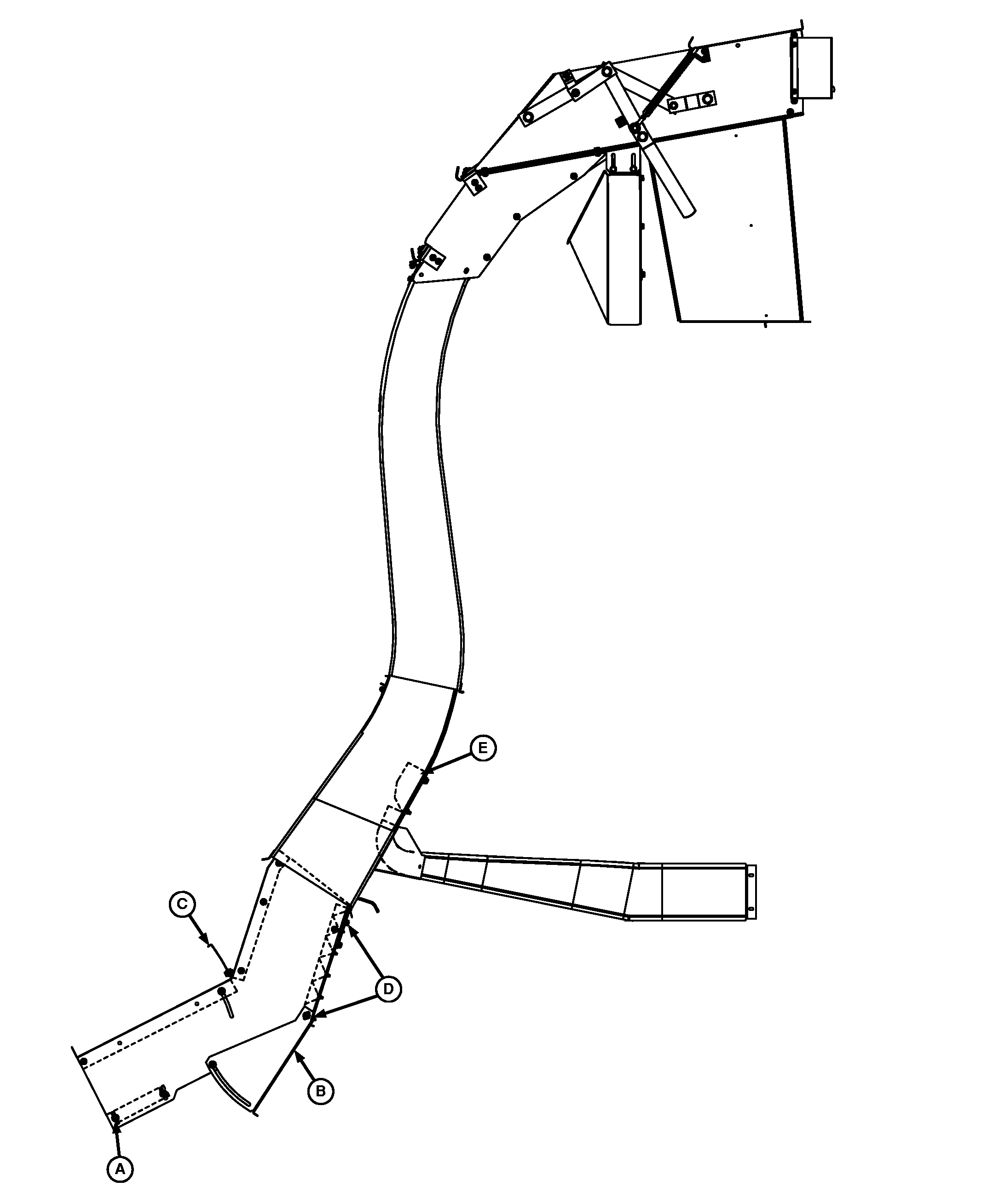
Separation Duct Settings

N62234

OUO1078,0000638 -19-09APR03-1/2



A-Lower Front Separation Duct Panel
B-Lower Separation Duct Door


C-Door
D-Separator Angles


E-Vanes
F-Front Tab


G-Finger Grates

1. Level head. (See LEVEL HEAD in this section.)

2. Adjust lower front separation duct panel by moving panel flush with head and 3.175-6.35 mm (.125-.25 in.) below head deck.

NOTE: If foreign material accumulates on panel (A) the rear of the panel can be angled down to allow material to slide off.

3. Adjust lower separation duct door by loosening four nuts and swing up or down, as necessary. Slide back to close gap at pivot point of door.

  • Door Closed-Maximum Vacuum
  • Door Open -Maximum Separation

NOTE: Do not lower door (C) unless separation door (B) is open completely.

4. In normal conditions door (C) is all the way up. If light green bolls are making it to the cleaner adjust door (C) by loosening 10 cap screws and moving door down to deflect into separator angles (D).

NOTE: This is a factory setting and changing it is not recommended. Use this dimension to verify nothing has changed.

5. Factory setting for vanes (E) is 152 mm (6 in.) apart at the top.

OUO1078,0000638 -19-09APR03-2/2