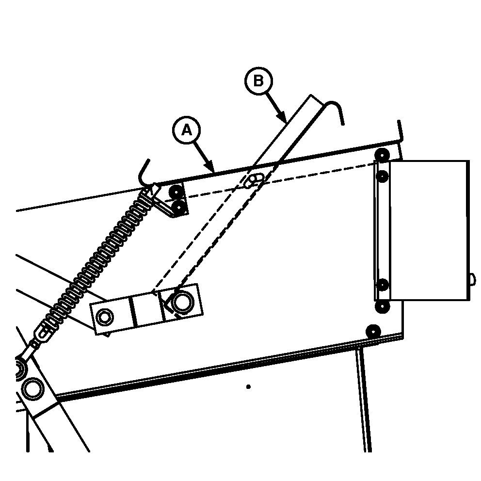
Finger Grate Setting

Position (A) is normal operating conditions.

To reduce the amount of leaf trash entering the basket, the grate can removed and placed in position (B). By doing this it will allow leaf trash to flow over top of basket.

NOTE: Can not bypass cleaner in this position.


A-Position
B-Position

N62235

OUO1078,000063A -19-09APR03-1/1