Adjusting Coil Tine Harrow Height

1.

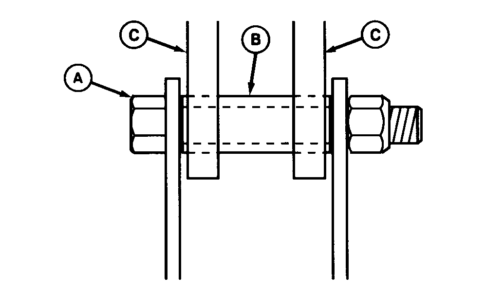
To adjust harrow height:

a. Remove cap screw (A) and bushing (B).

b. Reposition links (C) in adjusting holes (D).

c. Reinstall hardware in reverse sequence. height.

2. Make certain all harrow sections are set same.


A-Cap Screw
B-Bushing
C-Links
D-Adjusting Hole

N52449

Without Adjustable Attachment

N42143UE

AG,OUO1011,2699 -19-29MAR00-1/1