Prevent Hydraulic System Contamination

IMPORTANT: Cleanliness is very important when working on the hydraulic system. Prevent contamination by assembling cylinders, hoses, couplers, and valves in a clean area of the shop.

Leave protective caps on fluid openings until ready to make the connection. When charging the system, use a tractor or other source that contains clean oil, free of abrasive materials. Keep couplers clean. Abrasive particles, like sand or metal fragments, can damage seals, barrels and pistons, causing internal leakage.

NOTE: In order to help keep couplers clean, always place in storage position as shown when not attached to tractor.

N58907

Storage Position

AG,OUO1011,2739 -19-03APR00-1/2


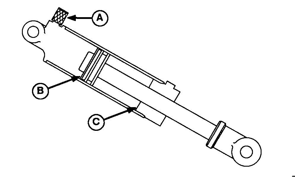
IMPORTANT: An external filter (A) must be installed in base end port(s) of main frame depth control cylinder(s), to prevent contaminants from entering depth control hydraulic system. Additional filters are not recommended as they will restrict oil flow and adversely effect lift time due to pressure drop.

Without filter(s), large dirt particles can enter cylinder and settle against top side of piston (B) where they can "jam" in the rephase groove and cut the piston seal as cylinder retracts.

No filter is needed on rod end port because dirt particles entering cylinder from here will settle harmlessly against rod guide (C), away from piston seal.

N45415


A-External Filter
B-Piston
C-Rod Guide

AG,OUO1011,2739 -19-03APR00-2/2