Disassembling Disk Gangs

N59208

OUO6084,00002FF -19-15JUL02-1/2



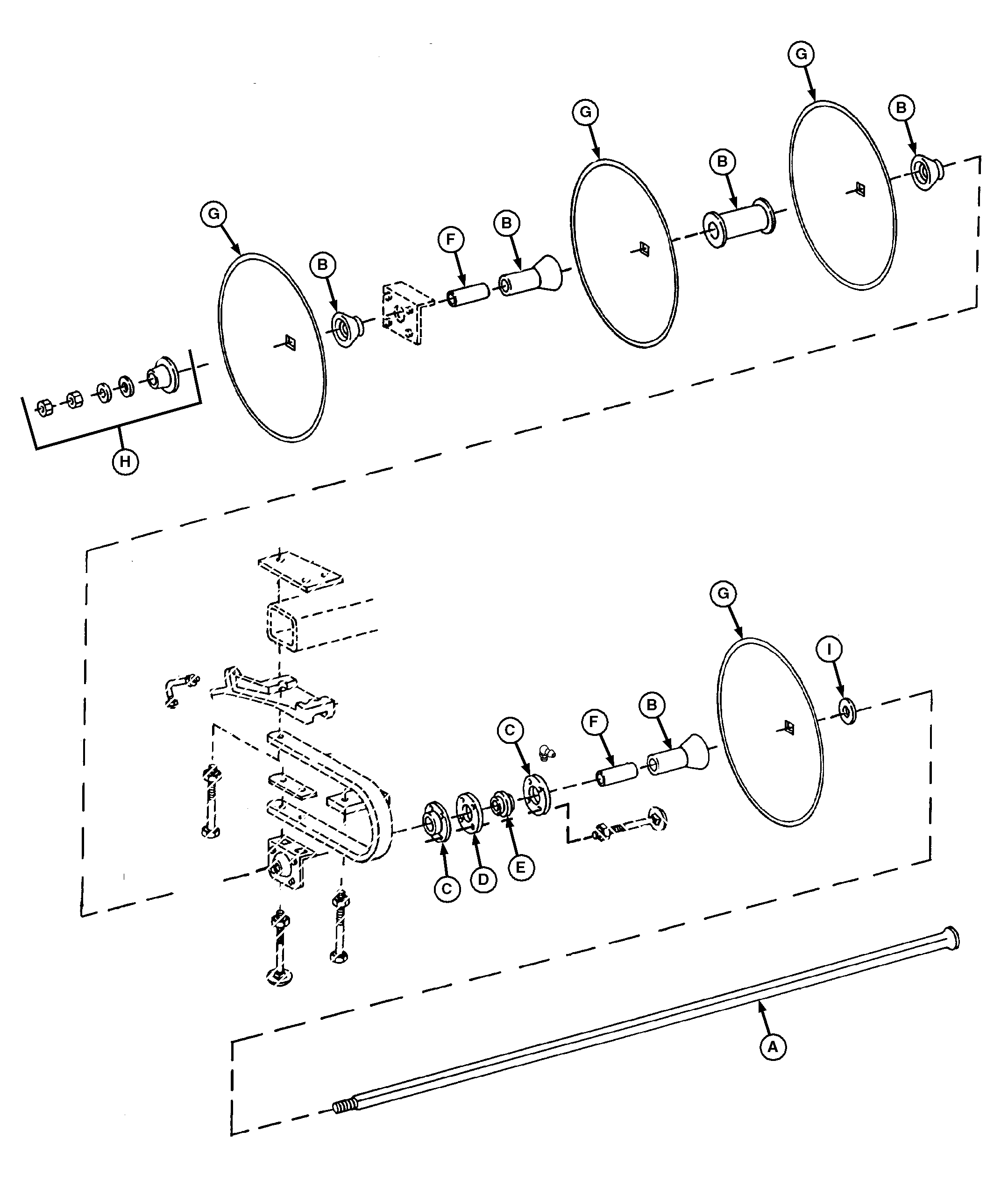
A-Gang Bolt
B-Spool
C-Bearing Flanges


D-Gasket
E-Bearing


F-Sleeve
G-Disk Blades


H-Hardware
I-Bumper

Illustration shows disk gang components.

1. Using gang wrenches and long pipe, remove gang bolt nuts.

2. Carefully remove disk blades (G), spools (B) and bearing assemblies.

3. Inspect following parts for wear or damage:

  • Bent gang bolt (A).
  • Worn or damaged spools (B).
  • Mushroomed spools (B).
  • Worn, broken, distorted or loose flanges (C).
  • Torn or grease saturated gaskets (D).
  • Loose bearing seals, worn or rough bearings (E).
  • Bent sleeves (F).
  • Worn or broken disk blades (G).
  • Worn bumper (I).

4. Bearing wear guard attachments and proper lubrication will help avoid bearing wear problems.

OUO6084,00002FF -19-15JUL02-2/2